LEMON Manuals: Even more car manuals for everyone: 1960-2025
Home >> Scion >> 2009 >> xD Standard >> Repair and Diagnosis (Single Page) >> Brakes >> Traction Control >> Brakes - Abs >> Vehicle Stability Control System >> DTC C0200/31 Front Speed Sensor RH Circuit; DTC C0205/32 Front Speed Sensor LH Circuit; DTC C1271/71 Low Output Signal of Front Speed Sensor RH (Test Mode DTC); DTC C1272/72 Low Output Signal of Front Speed Sensor LH (Test Mode DTC) >> Wiring Diagram
April 5, 2026: LEMON Manuals is launched! Read the announcement.

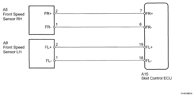
DTC C0200/31 Front Speed Sensor RH Circuit; DTC C0205/32 Front Speed Sensor LH Circuit; DTC C1271/71 Low Output Signal of Front Speed Sensor RH (Test Mode DTC); DTC C1272/72 Low Output Signal of Front Speed Sensor LH (Test Mode DTC): Wiring Diagram

Fig 1: Front Speed Sensor - Wiring Diagram
G05401180Courtesy of © TOYOTA, LICENSE AGREEMENT TMS1002