LEMON Manuals: Even more car manuals for everyone: 1960-2025
Home >> Scion >> 2012 >> tC L4-2.5L (2AR-FE) >> Repair and Diagnosis >> Accessories and Optional Equipment >> Antitheft and Alarm Systems >> Testing and Inspection >> Symptom Related Diagnostic Procedures >> Smart Key System (for Entry Function) >> All Door Entry Lock/Unlock Functions Do Not Operate, But Wireless Functions Operate
April 5, 2026: LEMON Manuals is launched! Read the announcement.

All Door Entry Lock/Unlock Functions Do Not Operate, But Wireless Functions Operate





THEFT DETERRENT / KEYLESS ENTRY: SMART KEY SYSTEM (for Entry Function): All Door Entry Lock/Unlock Functions do not Operate, but Wireless Functions Operate
- All Door Entry Lock/Unlock Functions do not Operate, but Wireless Functions Operate

DESCRIPTION

When the wireless operation can be used to lock and unlock the doors, communication between the door control receiver and certification ECU (smart key ECU assembly) is normal. If the entry lock and unlock functions do not operate, the entry cancel function may have been set to "on" through the customize function, there may be communication problems between the key and vehicle, or there may be electric wave interference.

INSPECTION PROCEDURE

NOTICE:
* The smart key system (for Entry Function) uses a multiplex communication system (LIN communication system) and the CAN communication system. Inspect the communication function by following How to Proceed with Troubleshooting How To Proceed With Troubleshooting. Troubleshoot the smart key system (for Entry Function) after confirming that the communication systems are functioning properly.
* When using the Techstream with the engine switch off to troubleshoot:
Connect the Techstream to the DLC3 and turn a courtesy light switch on and off at intervals of 1.5 seconds until communication between the Techstream and vehicle begins.
* Check that there are no electrical key transmitters in the vehicle.
* Before performing the inspection, check that DTC B1242 (wireless door lock control) is not output Smart Key System (for Entry Function).
* When checking the entry lock operation multiple times, the lock operation may be limited to 2 consecutive operations depending on the settings. In order to perform the entry lock operation 3 or more times, an unlock operation must be performed once (any type of unlock operation is sufficient). However, only consecutive entry lock operations are limited. Using the wireless lock or other types of lock operations, it is possible to perform consecutive lock operations without this limitation.
* Before replacing the certification ECU (smart key ECU assembly), refer to the smart key system (for Entry Function) Smart Key System (for Entry Function).

PROCEDURE

1. READ VALUE USING TECHSTREAM (KEY CANCEL SWITCH)

(a) Using the Techstream, read the Data List Smart Key System (for Entry Function).

Smart Key





Result





B -- PERFORM CANCELLATION OF ENTRY KEY CANCEL FUNCTION Smart Key System (for Entry Function)
A -- Continue to next step.

2. CHECK WAVE ENVIRONMENT

(a) Move the electrical key transmitter as described below and perform the operation inspection Operation Check.

HINT
* When the electrical key transmitter is brought near the front door outside handle assembly LH or electrical key antenna, the possibility of wave interference decreases, and it can be determined if wave interference is causing the problem.
* The transmitting waves of the wireless function and entry function are the same, but the wave logic is different. As a result, it is possible that only the wireless function or only the entry function is affected by wave interference.

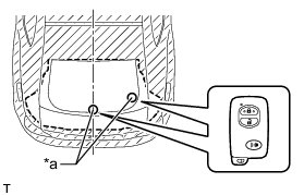
(1) Bring the electrical key transmitter approximately 0.3 m (0.98 ft.) from the front door outside handle assembly LH and perform a driver door entry lock and unlock operation check.





Text in Illustration





NOTICE:
If the key is brought within 0.2 m (0.66 ft.) of the door handle, communication may not possible.

(2) Bring the electrical key transmitter approximately 0.3 m (0.98 ft.) from the front door outside handle assembly RH and perform a front passenger door entry lock and unlock operation check.





Text in Illustration





NOTICE:
If the key is brought within 0.2 m (0.66 ft.) of the door handle, communication may not possible.

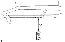
(3) Bring the electrical key transmitter approximately 0.3 m (0.98 ft.) from the electrical key antenna (outside luggage) and perform an entry back door unlock function check.





Text in Illustration





NOTICE:
If the key is brought within 0.2 m (0.66 ft.) of the rear bumper, communication may not possible.

HINT
* If the inspection result is that the problem only occurs in certain locations or at certain times of day, the possibility of wave interference is high. Also, added vehicle components may cause wave interference. If added vehicle components are installed, remove them and perform the operation check.
* If electric wave interference seems to be the likely cause of the problem, ask the customer if the problem occurs in specific locations.
* Move the vehicle to a different location, perform the following procedure and check if the symptoms can be reproduced.
(1) If a tool for checking electric waves, such as a signal strength meter, is available, move around the area while observing both the LF band (used by the vehicle antenna to form the key detection area) and RF band (used by the key for transmission) to check for locations where there is wave interference.

Result





B -- AFFECTED BY WAVE INTERFERENCE

C -- Go to OTHER PROBLEM (Proceed to PROBLEM SYMPTOMS TABLE FOR EACH DOOR) Problem Symptoms Table
A -- Continue to next step.

3. CHECK ELECTRICAL KEY ANTENNAS IN KEY DIAGNOSTIC MODE

(a) Check the following antennas in the key diagnostic mode System Description.

(1) Check the electrical key antenna (for driver side):





Text in Illustration





When the electrical key transmitter is brought within 0.7 to 1 m (2.30 to 3.28 ft.) of the front door outside handle assembly LH, check that the wireless door lock buzzer sounds.

(2) Check the electrical key antenna (for front passenger side):





Text in Illustration





When the electrical key transmitter is brought within 0.7 to 1 m (2.30 to 3.28 ft.) of the front door outside handle assembly RH, check that the wireless door lock buzzer sounds.

(3) Check the indoor No. 1 electrical key antenna (front floor):





Text in Illustration





When the electrical key transmitter is at the inspection point, check that the wireless door lock buzzer sounds.

(4) Check the indoor No. 2 electrical key antenna (rear floor):





Text in Illustration





When the electrical key transmitter is at the inspection point, check that the wireless door lock buzzer sounds.

(5) Check the indoor No. 3 electrical key antenna (inside luggage):





Text in Illustration





When the electrical key transmitter is at the inspection point, check that the wireless door lock buzzer sounds.

(6) Check the electrical key antenna (outside luggage):





Text in Illustration





When the electrical key transmitter is brought within 0.7 to 1 m (2.30 to 3.28 ft.) of the electrical key antenna (outside luggage), check that the wireless door lock buzzer sounds.

OK:

Wireless door lock buzzer sounds.

Result





B -- Go to OTHER FLOWCHART (Proceed to PROBLEM SYMPTOM FLOWCHART FOR EACH DOOR) Room Oscillator Does Not Recognize Key

C -- Go to OTHER FLOWCHART Room Oscillator Does Not Recognize Key

D -- Go to OTHER FLOWCHART Back Door Entry Unlock Function Does Not Operate

E -- REPLACE CERTIFICATION ECU (SMART KEY ECU ASSEMBLY) Removal
A -- Continue to next step.

4. INSPECT ELECTRICAL KEY TRANSMITTER

(a) Check if there is another key available that is already registered to the vehicle.

Result





B -- CHECK OPERATION
A -- Continue to next step.

5. REPLACE ELECTRICAL KEY TRANSMITTER

(a) Replace the electrical key transmitter with a new one.

(b) Perform the registration procedure Engine Immobilizer System (W/ Smart Key System).

NEXT -- Continue to next step.

6. CHECK OPERATION

(a) Check the operation of the entry lock function Operation Check.

OK:

Entry lock function operates normally.

NG -- REPLACE CERTIFICATION ECU (SMART KEY ECU ASSEMBLY) Removal

OK -- END (ELECTRICAL KEY TRANSMITTER IS DEFECTIVE)