LEMON Manuals: Even more car manuals for everyone: 1960-2025
Home >> Scion >> 2012 >> tC Standard Trans >> Repair and Diagnosis >> Engine Performance >> Fuel Delivery >> Fuel System (Service Information) >> Fuel Tank >> Installation >> Installation
April 5, 2026: LEMON Manuals is launched! Read the announcement.

Fuel Tank: Installation: Installation

  1. INSTALL FUEL TANK MAIN TUBE SUB-ASSEMBLY 
  2. INSTALL FUEL TANK ASSEMBLY 
    1. Set the fuel tank onto an engine lifter.
    2. Operate the engine lifter, and then install the fuel tank to the vehicle.
    3. Install the 2 fuel tank bands with the 4 bolts.

      Torque: 39 N*m (400 kgf*cm, 29 ft.*lbf) 

    4. Connect the fuel tank to filler pipe hose to the fuel tank, and then tighten the hose clamp.
      Fig 1: Identifying Hose Clamp Installation Angle
      GTY310713Courtesy of © TOYOTA, LICENSE AGREEMENT TMS1002
      TEXT IN ILLUSTRATION

      *1 Mark
      *a Up
      *b RH Side
      NOTE:

      Make sure that the mark and hose clamp are at the correct angle during installation.

      HINT: 

      Tighten the hose clamp until the end of the hose clamp is within 2.0 mm (0.0787 in.) on either side of the position where it contacts the stopper as shown in the illustration.

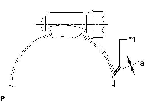
      Fig 2: Identifying Hose Clamp Measuring Position
      GTY310855Courtesy of © TOYOTA, LICENSE AGREEMENT TMS1002
      TEXT IN ILLUSTRATION

      *1 Stopper
      *a -2.0 to 2.0 mm (-0.0787 to 0.0787 in.)
    5. Connect the vent line hose.
      Fig 3: Connecting The Vent Line Hose
      GTY310489Courtesy of © TOYOTA, LICENSE AGREEMENT TMS1002
      TEXT IN ILLUSTRATION

      *a Push
    6. Connect the No. 2 parking brake cable assembly and No. 3 parking brake cable assembly with the 2 bolts.

      Torque: 6.0 N*m (61 kgf*cm, 53 in.*lbf) 

  3. CONNECT FUEL TANK MAIN TUBE SUB-ASSEMBLY 

    Refer to PRECAUTION

  4. INSTALL NO. 1 FUEL TANK PROTECTOR 
    1. Install the No. 1 fuel tank protector with the 3 bolts.

      Torque: 5.5 N*m (56 kgf*cm, 49 in.*lbf) 

  5. INSTALL CENTER EXHAUST PIPE ASSEMBLY 

    Refer to INSTALLATION

  6. ADD FUEL 
  7. INSTALL FUEL SUCTION TUBE ASSEMBLY WITH PUMP AND GAUGE 

    Refer to INSTALLATION 

  8. CONNECT CABLE TO NEGATIVE BATTERY TERMINAL 
    NOTE:

    When disconnecting the cable, some systems need to be initialized after the cable is reconnected. Refer to INITIALIZATION .

  9. INSPECT FOR FUEL LEAK  See step  10