LEMON Manuals: Even more car manuals for everyone: 1960-2025
Home >> Scion >> 2013 >> tC Automatic Trans >> Repair and Diagnosis (Single Page) >> Accessories & Equipment >> Anti-Theft Systems >> Smart Key System (For Entry Function) (Diagnostic Codes & Symptom Tests) >> SMART KEY SYSTEM (for Entry Function) >> DTC B27A1: Open in Driver Side Electrical Antenna Circuit >> Procedure
April 5, 2026: LEMON Manuals is launched! Read the announcement.

DTC B27A1: Open in Driver Side Electrical Antenna Circuit: Procedure

  1. CHECK CONNECTOR CONNECTION 
    1. Turn the engine switch off.
    2. Check that the connectors are properly connected to the certification ECU (smart key ECU assembly) and front door outside handle assembly LH.

      OK

      Connectors are properly connected.

    NG → CONNECT CONNECTORS PROPERLY 

    OK: Go to next step 

  2. CHECK HARNESS AND CONNECTOR (CERTIFICATION ECU - FRONT DOOR OUTSIDE HANDLE LH AND BODY GROUND) 
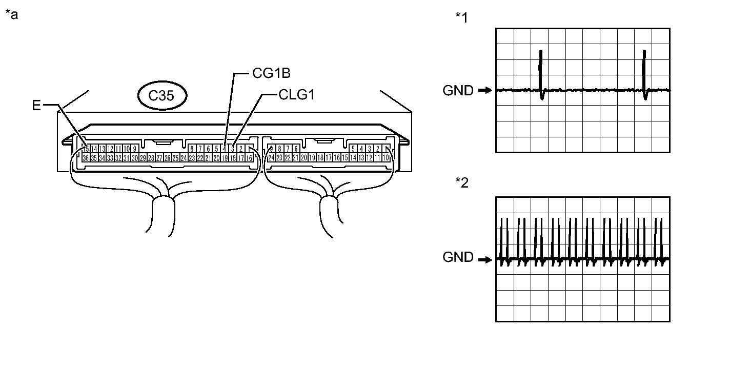
    1. Disconnect the C35 certification ECU (smart key ECU assembly) connector.
    2. Disconnect the G1 front door outside handle assembly LH connector.
    3. Measure the resistance according to the value(s) in the table below.

      Standard Resistance

      Tester Connection Condition Specified Condition
      C35-3 (CLG1) - G1-6 (ANT1) Always Below 1 Ω
      C35-4 (CG1B) - G1-3 (ANT2) Always Below 1 Ω
      C35-15 (E) - Body ground Always Below 1 Ω
      G1-2 (GND) - Body ground Always Below 1 Ω
      C35-3 (CLG1) or G1-6 (ANT1) - Body ground Always 10 kΩ or higher
      C35-4 (CG1B) or G1-3 (ANT2) - Body ground Always 10 kΩ or higher

    NG → REPAIR OR REPLACE HARNESS OR CONNECTOR 

    OK: Go to next step 

  3. CHECK CERTIFICATION ECU (OUTPUT TO DRIVER SIDE ELECTRICAL KEY ANTENNA) 
    1. Connect the C35 certification ECU (smart key ECU assembly) connector.
      Fig 1: Checking Certification ECU (Output To Driver Side Electrical Key Antenna) With Waveform
      GTY314439Courtesy of © TOYOTA, LICENSE AGREEMENT TMS1002
      TEXT IN ILLUSTRATION

      *1 Waveform 1 *2 Waveform 2
      *a Component with harness connected
      (Certification ECU [Smart Key ECU Assembly])
      - -
    2. Connect the G1 front door outside handle assembly LH connector.
    3. Using an oscilloscope, check the waveform.

      OK

      Tester Connection Condition Tool Setting Specified Condition
      C35-3 (CLG1) - C35-15 (E) Procedure: 
      1. Engine switch off
      2. Electrical key transmitter brought outside vehicle
      3. All doors closed
      4. Electrical key transmitter not inside vehicle
      5. Electrical key transmitter brought inside detection area*1
      6. All doors locked through wireless operation
      2 V/DIV., 500 ms/DIV. Pulse generation (See waveform 1 in)
      C35-3 (CLG1) - C35-15 (E) Procedure: 
      1. Engine switch off
      2. Electrical key transmitter brought outside vehicle
      3. All doors closed
      4. Electrical key transmitter not inside vehicle
      5. Electrical key transmitter brought outside detection area*2
      6. All doors locked through wireless operation
      2 V/DIV., 500 ms/DIV. Pulse generation (See waveform 2)
      C35-4 (CG1B) - C35-15 (E) Procedure: 
      1. Engine switch off
      2. Electrical key transmitter brought outside vehicle
      3. All doors closed
      4. Electrical key transmitter not inside vehicle
      5. All doors locked with electrical key transmitter
      2 V/DIV., 500 ms/DIV. Pulse generation (See waveform 2)
      • *1: For details about the areas that are inside the entry function detection area, refer to Operation Check. Refer to OPERATION CHECK .
      • *2: For details about the areas that are outside the entry function detection area, refer to Operation Check. Refer to OPERATION CHECK .

    NG → See step   7 

    OK: Go to next step 

  4. REPLACE FRONT DOOR OUTSIDE HANDLE ASSEMBLY LH 
    1. Temporarily replace the front door outside handle assembly LH with a new or normally functioning one. Refer to DISASSEMBLY .

    NEXT: Go to next step 

  5. CLEAR DTC 
    1. Clear the DTCs. Refer to DTC CHECK / CLEAR .

    NEXT: Go to next step 

  6. CHECK FOR DTC 
    1. Check for DTCs. Refer to DTC CHECK / CLEAR .

      OK

      DTC B27A1 is not output.

    NG → See step   7 

    OK → END (FRONT DOOR OUTSIDE HANDLE ASSEMBLY LH IS DEFECTIVE) 

  7. REPLACE CERTIFICATION ECU (SMART KEY ECU ASSEMBLY). Refer to  REMOVAL