LEMON Manuals: Even more car manuals for everyone: 1960-2025
Home >> Scion >> 2013 >> tC Automatic Trans >> Repair and Diagnosis (Single Page) >> Accessories & Equipment >> Anti-Theft Systems >> Smart Key System (For Entry Function) (Diagnostic Codes & Symptom Tests) >> SMART KEY SYSTEM (for Entry Function) >> DTC B27A7: Open in Inside Luggage Compartment Electrical Key Oscillator Circuit >> Procedure
April 5, 2026: LEMON Manuals is launched! Read the announcement.

DTC B27A7: Open in Inside Luggage Compartment Electrical Key Oscillator Circuit: Procedure

  1. CHECK CONNECTOR CONNECTION 
    1. Turn the engine switch off.
    2. Check that the connectors are properly connected to the certification ECU (smart key ECU assembly) and indoor No. 3 electrical key antenna assembly (inside luggage).

      OK

      Connectors are properly connected.

    NG → CONNECT CONNECTORS PROPERLY 

    OK: Go to next step 

  2. CHECK HARNESS AND CONNECTOR (CERTIFICATION ECU - INDOOR NO. 3 ELECTRICAL KEY ANTENNA AND BODY GROUND) 
    1. Disconnect the C35 certification ECU (smart key ECU assembly) connector.
    2. Disconnect the J9 indoor No. 3 electrical key antenna assembly (inside luggage) connector.
    3. Measure the resistance according to the value(s) in the table below.

      Standard Resistance

      Tester Connection Condition Specified Condition
      C35-26 (CLG7) - J9-1 (CLG6) Always Below 1 Ω
      C35-27 (CG7B) - J9-3 (CLGB) Always Below 1 Ω
      C35-15 (E) - Body ground Always Below 1 Ω
      C35-26 (CLG7) or J9-1 (CLG6) - Body ground Always 10 kΩ or higher
      C35-27 (CG7B) or J9-3 (CLGB) - Body ground Always 10 kΩ or higher

    NG → REPAIR OR REPLACE HARNESS OR CONNECTOR 

    OK: Go to next step 

  3. CHECK CERTIFICATION ECU (OUTPUT TO INDOOR NO. 3 ELECTRICAL KEY ANTENNA [INSIDE LUGGAGE]) 
    1. Connect the C35 certification ECU (smart key ECU assembly) connector.
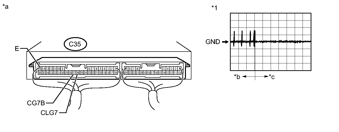
      Fig 1: Checking Certification ECU (Output To Indoor No. 3 Electrical Key Antenna [Inside Luggage]) With Waveform
      GTY314464Courtesy of © TOYOTA, LICENSE AGREEMENT TMS1002
      TEXT IN ILLUSTRATION

      *1 Waveform - -
      *a Component with harness connected
      (Certification ECU [Smart Key ECU Assembly])
      *b Door is open and then closed for 30 seconds
      *c From approximately 30 seconds after door is closed - -
    2. Connect the J9 indoor No. 3 electrical key antenna assembly (inside luggage) connector.
    3. Using an oscilloscope, check the waveform.

      OK

      Tester Connection Condition Tool Setting Specified Condition
      C35-26 (CLG7) - C35-15 (E) Procedure: 
      1. Engine switch off
      2. Door is open
      3. Door is closed
      4. 30 seconds elapse
      2 V/DIV., 500 ms/DIV. Pulse generation (See waveform)
      C35-27 (CG7B) - C35-15 (E) Procedure: 
      1. Engine switch off
      2. Door is open
      3. Door is closed
      4. 30 seconds elapse
      2 V/DIV., 500 ms/DIV. Pulse generation (See waveform)

    NG → See step   7 

    OK: Go to next step 

  4. REPLACE INDOOR NO. 3 ELECTRICAL KEY ANTENNA ASSEMBLY (INSIDE LUGGAGE) 
    1. Temporarily replace the indoor No. 3 electrical key antenna assembly (inside luggage) with a new or normally functioning one. Refer to REMOVAL .

    NEXT: Go to next step 

  5. CLEAR DTC 
    1. Clear the DTCs. Refer to DTC CHECK / CLEAR .

    NEXT: Go to next step 

  6. CHECK FOR DTC 
    1. Check for DTCs. Refer to DTC CHECK / CLEAR .

      OK

      DTC B27A7 is not output.

    NG → See step   7 

    OK → END (INDOOR NO. 3 ELECTRICAL KEY ANTENNA ASSEMBLY IS DEFECTIVE) 

  7. REPLACE CERTIFICATION ECU (SMART KEY ECU ASSEMBLY). Refer to  REMOVAL