LEMON Manuals: Even more car manuals for everyone: 1960-2025
Home >> Scion >> 2013 >> xD Automatic Trans >> Repair and Diagnosis (Single Page) >> Restraints >> Air Bag, SRS >> Occupant Classification System (Diagnostic Codes & Symptom Tests) >> Occupant Classification System >> DTC B1793: Occupant Classification Sensor Power Supply Circuit Malfunction >> Wiring Diagram
April 5, 2026: LEMON Manuals is launched! Read the announcement.

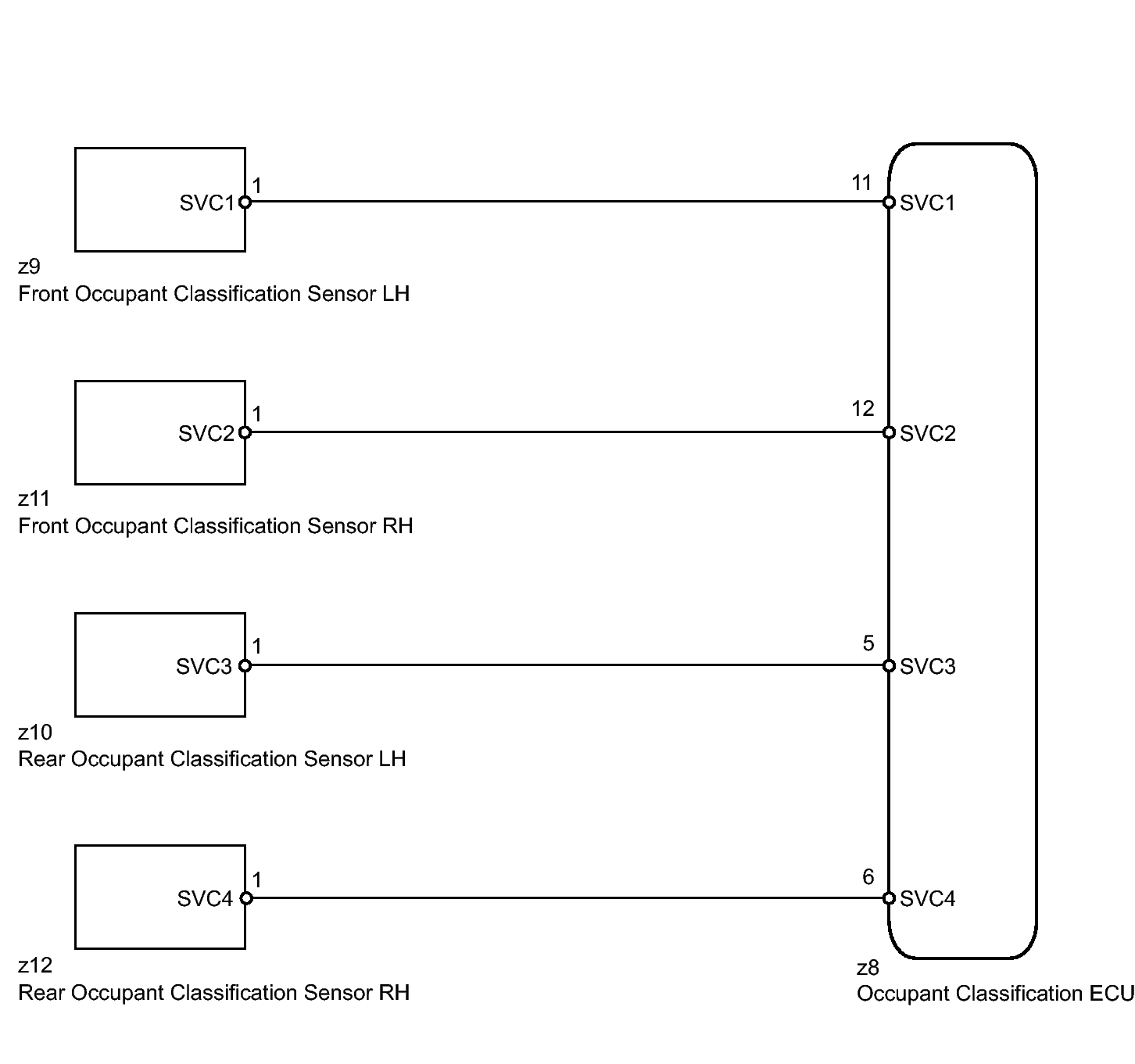
DTC B1793: Occupant Classification Sensor Power Supply Circuit Malfunction: Wiring Diagram

Fig 1: Rear Occupant Classification Sensor RH Wiring Diagram
GTY157472Courtesy of © TOYOTA, LICENSE AGREEMENT TMS1002