LEMON Manuals: Even more car manuals for everyone: 1960-2025
Home >> Scion >> 2016 >> iM Automatic CVT Trans >> Repair and Diagnosis (Single Page) >> Transmission >> Automatic Trans >> CVT System - Diagnostic Codes & Circuit Tests >> Continuously Variable Transaxle System >> DTC P0720: Output Speed Sensor Circuit; DTC P0722: Output Speed Sensor Circuit No Signal [06/2015 - ] >> Procedure
April 5, 2026: LEMON Manuals is launched! Read the announcement.

DTC P0720: Output Speed Sensor Circuit; DTC P0722: Output Speed Sensor Circuit No Signal [06/2015 - ]: Procedure

  1. READ VALUE USING TECHSTREAM (SPD (NOUT) AND NOUT SENSOR VOLTAGE) 
    1. Connect the Techstream to the DLC3.
    2. Turn the ignition switch to ON.
    3. Turn the Techstream on.
    4. Enter the following menus: Powertrain / Engine and ECT / Data List.
    5. According to the display on the Techstream, read the Data List.

      Powertrain > Engine and ECT > Data List 

      Tester Display Measurement Item Range Normal Condition Diagnostic Note
      SPD (NOUT) Secondary pulley speed (NOUT) Min.: 0 rpm
      Max.: 12750 rpm
      • 0 rpm: Vehicle stopped
      • Approximately 2650 rpm: Vehicle being driven at approximately 60 km/h (37 mph)
      Data is displayed in increments of 50 rpm.
      NOUT Sensor Voltage Transmission revolution sensor (NOUT) output voltage Min.: 0.000 V
      Max.: 4.999 V
      0.1 to 1.9 V: Engine idling (Vehicle stopped with shift lever in P or N) -

      Powertrain > Engine and ECT > Data List 

      Tester Display
      SPD (NOUT)
      NOUT Sensor Voltage

      Result

      Result Proceed to
      Data List value is not normal A
      Data List value is normal B

    Result:  2

    See step  5

    Result:  1

    See step  2

  2. INSPECT TRANSMISSION REVOLUTION SENSOR (NOUT) 
    1. Remove the transmission revolution sensor (NOUT).

      Refer to REMOVAL [06/2015 - ]

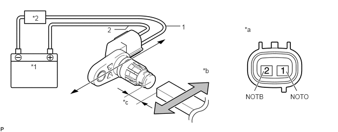
    2. Connect the battery to the transmission revolution sensor (NOUT) as shown in the illustration.
      GTY449319Courtesy of © TOYOTA, LICENSE AGREEMENT TMS1002
      *1 Battery *2 Ammeter
      *a Component without harness connected
      (Transmission Revolution Sensor (NOUT))
      *b Magnet
      *c 5 mm or less - -
    3. Wave a magnetic object left and right 5 mm (0.197 in.) or less from the tip of the transmission revolution sensor (NOUT) to output a high/low signal while measuring the current.
      NOTE:

      Make sure to wave the magnetic object during the inspection. The current will not change unless the magnetic object is moved as shown in the illustration.

    4. Measure the current according to the value(s) in the table below.

      Standard Current

      Tester Connection Condition Specified Condition
      1 (NOTO) - 2 (NOTB) Low signal 4 to 8 mA
      1 (NOTO) - 2 (NOTB) High signal 12 to 16 mA

      Result

      Proceed to
      OK
      NG

    Result:  2

    NG 

    REPLACE TRANSMISSION REVOLUTION SENSOR (NOUT). Refer to  COMPONENTS [06/2015 - ] 

    Result:  1

    OK 

    See step  3

  3. CHECK HARNESS AND CONNECTOR (TRANSMISSION REVOLUTION SENSOR (NOUT) - ECM) 
    1. Disconnect the B34 transmission revolution sensor (NOUT) connector.
    2. Disconnect the B38 ECM connector.
    3. Measure the resistance according to the value(s) in the table below.

      Standard Resistance

      Tester Connection Condition Specified Condition
      B34-1 (NOTO) - B38-129 (NOTO) Always Below 1 Ω
      B34-2 (NOTB) - B38-130 (NOTB) Always Below 1 Ω
      B34-1 (NOTO) or B38-129 (NOTO) - Body ground and other terminals Always 10 kΩ or higher
      B34-2 (NOTB) or B38-130 (NOTB) - Body ground and other terminals Always 10 kΩ or higher
    4. Connect the B38 ECM connector.
    5. Connect the B34 transmission revolution sensor (NOUT) connector.

      Result

      Proceed to
      OK
      NG

    Result:  2

    NG 

    REPAIR OR REPLACE HARNESS OR CONNECTOR (TRANSMISSION REVOLUTION SENSOR (NOUT) - ECM) 

    Result:  1

    OK 

    See step  4

  4. REPLACE ECM 
    1. Replace the ECM.

      Refer to COMPONENTS [06/2015 - ]

      Result

      Proceed to
      NEXT

    Result:  1

    NEXT 

    PERFORM INITIALIZATION. Refer to  INITIALIZATION [06/2015 - ] 

  5. REPLACE ECM 
    1. Replace the ECM.

      Refer to COMPONENTS [06/2015 - ]

      Result

      Proceed to
      NEXT

    Result:  1

    NEXT 

    PERFORM INITIALIZATION. Refer to  INITIALIZATION [06/2015 - ]