LEMON Manuals: Even more car manuals for everyone: 1960-2025
Home >> Smart >> 2017 >> Fortwo Proxy, 2D Convertible, Standard Trans >> Repair and Diagnosis (Single Page) >> Electrical >> Charging Systems >> Electrical System, Equipment & Instruments - 453 Chassis - 1 Of 3 >> Basic Knowledge >> Power Supply Fuse And Relay Module Assignment - GF54.15-P-1256-40KJ
April 5, 2026: LEMON Manuals is launched! Read the announcement.

Power Supply Fuse And Relay Module Assignment - GF54.15-P-1256-40KJ

MODEL 453 

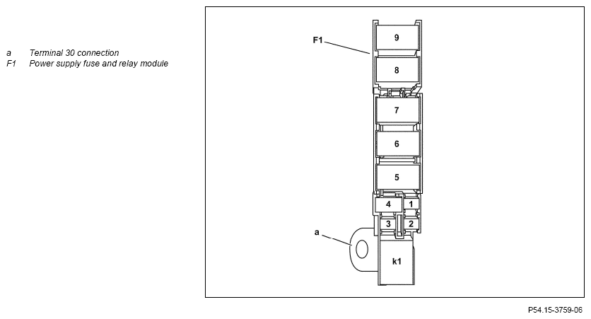
Fig 1: Power Supply Fuse Module - Model 453.0 (Except 453.091), 453.3 (Except 453.391), 453.4 (Except 453.491)
G12093894Courtesy of MERCEDES-BENZ USA
Fuse Identification Circuit Line ID (line fused) Fused function Rating in amperes (A)
f1 30 2.0 RD Heated rear window (R1) over relay for heated rear window/outside mirrors (F2k1) 30
f2 30 1.5 RDBN Valid with CODE 873 (Seat heater) 
Front passenger seat heater control unit (N25/4)
30
  30 1.5 RDBN Valid with CODE 873 (Seat heater) 
Driver seat heater control unit (N25/5)
30
f3 25 2.5 RDPK Electronic Stability Program control unit (N30/4) 25
f4 30 2 x 2.0 RD Valid for model 453.4 
Electrical fuse 1 (F2f2/1) and electrical fuse 2 (F2f2/2)
40
  30 2.0 RD Valid for model 453.0 with CODE E55 (Folding roof) 
Sliding roof relay (F2k3)
25
f5 30 5.0 RD Supply for internal combustion engine fuse and relay module (F11) 60
f6 30 5.0 RD Valid with CODE 429 (twinamic) 
Dual clutch transmission control unit (N15/13) protected through connector sleeve for circuit 30 (Z50/56)
50
f7 30 4.0 RDBN Valid with CODE I78 (Heating system) 
Fan motor (M4/7) over fan relay (F1k1)
30
  30 4.0 RDBN Valid for model 453.0/3 with CODE I77 (Manual A/C system) or with CODE I01 (A/C system) 
Fan solenoid switch, ICE combustion engine cooling (K32)
30
f8 30 - Spare -
f9 30 6.0 RD Valid for USA 
Secondary air injection pump (K64) (K32)
60
Fig 2: Power Supply Fuse Module - Model 453.091/391/491
G12093894Courtesy of MERCEDES-BENZ USA
Fuse Identification Circuit Line ID (line fused) Fused function Rating in amperes (A)
f1 30 2.0 RD Heated rear window (R1) over relay for heated rear window/outside mirrors (F2k1) 30
f2 30 2.5 RDPK Brake booster vacuum pump control unit (N65/3) 30
f3 30 2.5 RDPK Electronic Stability Program control unit (N30/4) 25
f4 30 2 x 3.0 RD Valid for model 453.491 
Electrical fuse 1 (F2f2/1) and electrical fuse 2 (F2f2/2)
40
  30 2.0 RD Valid for model 453.091 with CODE E55 (Folding roof) 
Sliding roof relay (F2k3)
25
f5 30 5.0 RD Supply for internal combustion engine fuse and relay module (F11) 70
f6 30 3.0 RD Vehicle interior fuse and relay module supply (F2) 40
f7 30 4.0 RDBN Fan motor (M4/7) over fan relay (K9/5) 30
f8 30 - Spare -
f9 30 6.0 RD Heater for high-voltage battery (R101) over heater relay for high-voltage battery (K60/2) 60