LEMON Manuals: Even more car manuals for everyone: 1960-2025
Home >> Subaru >> 2002 >> Forester Base >> Repair and Diagnosis (Single Page) >> Transmission >> Automatic Trans >> Automatic Transmission (Mechanism & Function) >> Transmission Control Module (TCM) >> Shift Control
April 5, 2026: LEMON Manuals is launched! Read the announcement.

Shift Control

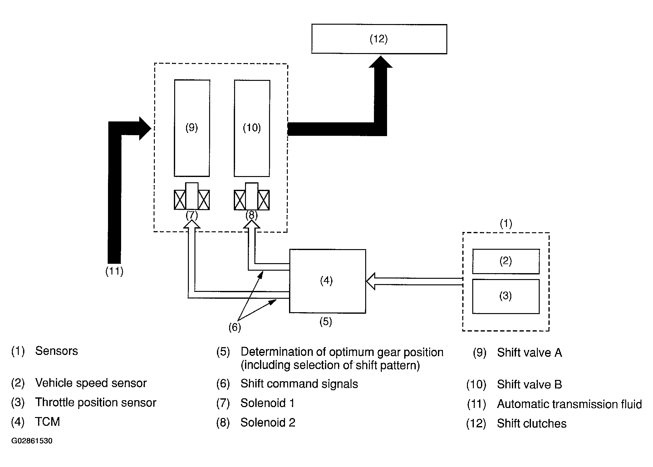
The TCM performs gear shifting control according to driving conditions by using the shift point characteristic data stored in its memory. Appropriate solenoids are operated at the proper timing corresponding to the shift pattern, throttle position, and vehicle speed for smooth shifting.

NOTE: When the ATF temperature is below approximately 10°C (50°F), the gear cannot be shifted to the 4th speed.
Fig 1: Shifting Control Data Chart
G02861529Courtesy of SUBARU OF AMERICA, INC.