LEMON Manuals: Even more car manuals for everyone: 1960-2025
Home >> Subaru >> 2002 >> Forester L, Standard >> Repair and Diagnosis >> Engine Performance >> Engine Control Systems >> Fuel Injection (Fuel Systems) >> Fuel Level Sensor >> Removal
April 5, 2026: LEMON Manuals is launched! Read the announcement.

Fuel Level Sensor: Removal

WARNING:
  • Place "NO FIRE" signs near the working area.
  • Be careful not to spill fuel on the floor.
NOTE: Fuel level sensor is built in fuel pump assembly.
  1. Remove fuel pump assembly. Refer to Fuel Pump  .
  2. Disconnect connector from fuel pump bracket.
    Fig 1: Disconnecting Connector From Fuel Pump Bracket
    G02862009Courtesy of SUBARU OF AMERICA, INC.
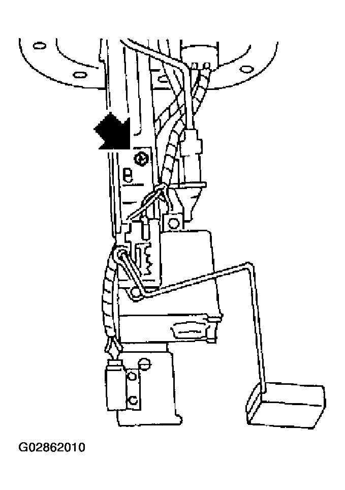
  3. Remove bolt which installs fuel level sensor on mounting bracket.
    Fig 2: Removing Fuel Level Sensor Bolt
    G02862010Courtesy of SUBARU OF AMERICA, INC.