LEMON Manuals: Even more car manuals for everyone: 1960-2025
Home >> Subaru >> 2003 >> Outback Base, 4D Sedan >> Repair and Diagnosis (Single Page) >> Heating, Ventilation & A/C (HVAC) >> HVAC Control Systems >> HVAC System - Mechanism & Function >> Automatic Air Conditioning >> Control System >> Compressor Control System
April 5, 2026: LEMON Manuals is launched! Read the announcement.

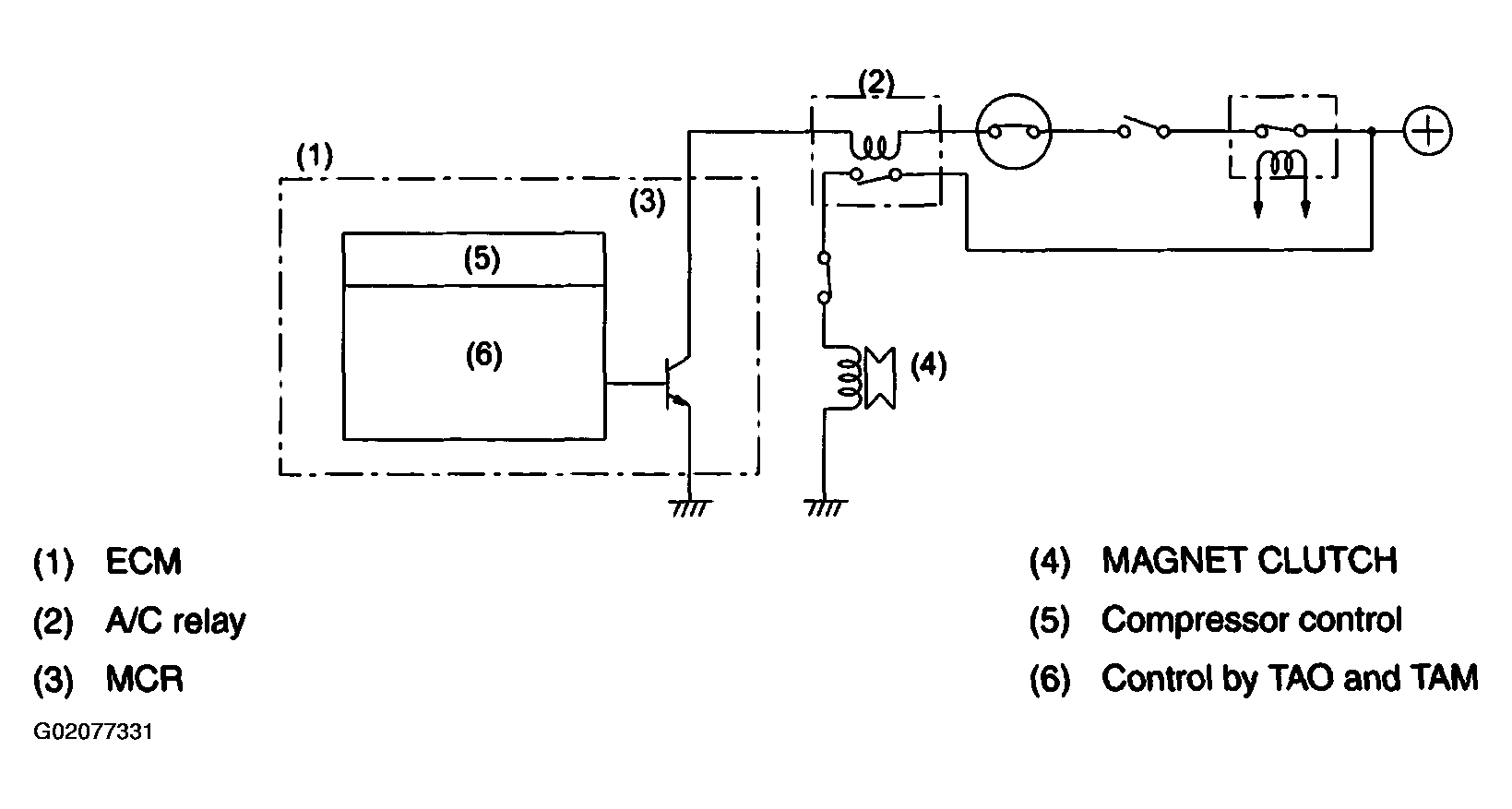
Compressor Control System

In the automatic air-conditioning mode, the A/C relay is activated or deactivated depending on the TAO (required blow-out air temperature), TAM (ambient temperature) and T INT (suction air temperature) to operate or stop the compressor.

The compressor operation circuit supplies current to the magnet clutch as the ECM activates the A/C relay by connecting its coil to the ground.

Fig 1: Compressor Control System Circuit Diagram
G02077331Courtesy of SUBARU OF AMERICA, INC.