LEMON Manuals: Even more car manuals for everyone: 1960-2025
Home >> Subaru >> 2004 >> Baja Base, Automatic >> Repair and Diagnosis (Single Page) >> Engine Performance >> System >> Diagnostic Trouble Code (DTC) Detecting Criteria (H4SO U5 (PZEV)) >> Diagnostic Trouble Code (DTC) Detecting Criteria >> DTC P0464: Fuel Level Sensor Circuit Intermittent >> Diagnostic Method
April 5, 2026: LEMON Manuals is launched! Read the announcement.

Diagnostic Method

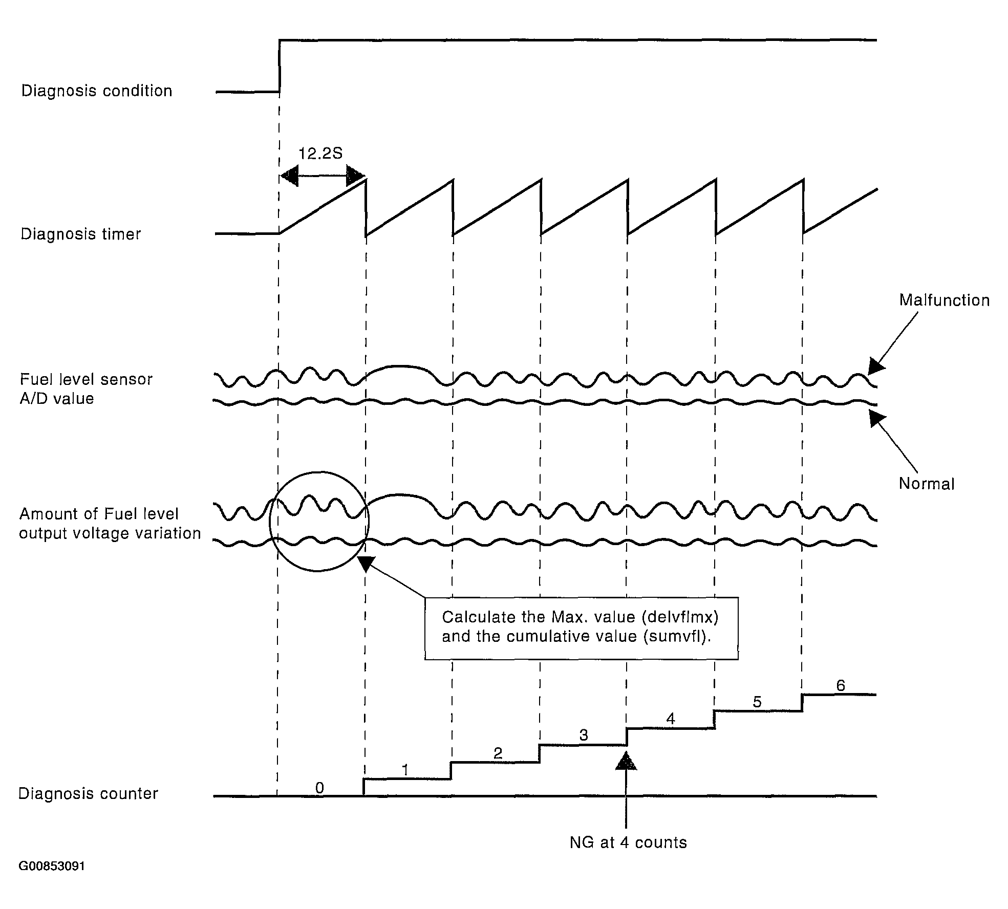
Calculate the Max. value (delfimax) and cumulative value (sumfl) of output voltage variation of fuel level sensor during 12.24 seconds. Judge it normal when both max. and cumulative values are not over the threshold value. Otherwise, when either of them is over the threshold value, count the diagnosis counter up. And judge NG if the counter indicated 4 counts.

Fig 1: Output Voltage Blinking Patterns
G00853091Courtesy of SUBARU OF AMERICA, INC.
Fig 4: Threshold Valve Table
G00853094Courtesy of SUBARU OF AMERICA, INC.