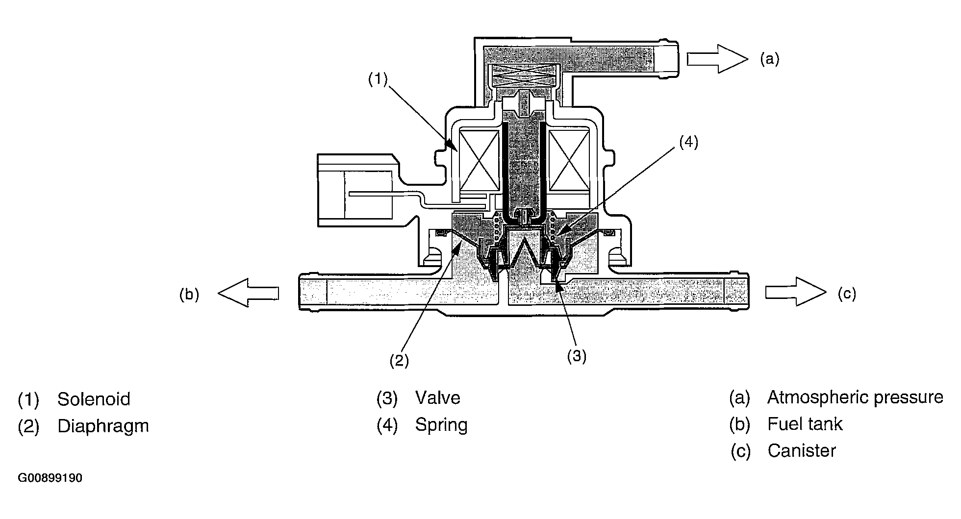
Component Description
- Pressure Control Solenoid Valve
PCV controls the fuel tank pressure to be equal to the atmospheric air pressure.
Normally, the solenoid is set to OFF. And the valve opens and closes mechanically in accordance with the pressure difference between tank and atmospheric air, or tank and canister.
Also the valve is able to forcibly opened by setting the solenoid to ON.
- Valve Operation and Air Flow
In the figure below, divided by the diaphragm, the part above X is charged with atmospheric air pressure, and the part below X is charged with tank pressure. Also, the part above Y is charged with tank pressure, and the part below Y is charged with canister pressure.
If the atmospheric air pressure port is A, tank pressure port is B, and canister pressure port is C, the air flows according to pressure difference from each port as shown in the table below.
Courtesy of SUBARU OF AMERICA, INC.
- When A < B (Solenoid OFF)
- When B < C (Solenoid OFF)
- When Solenoid is ON
- CCV
In normal condition, drain valve opens when solenoid is turning OFF, and the solenoid is turned ON when diagnosis and the valve close.
- Tank Pressure Switching Solenoid
- Purpose of this solenoid
Fuel tank pressure sensor detects the difference between the atmospheric air pressure and the tank pressure and the ECM monitors the pressure difference.
Even if the tank pressure is constant, the atmospheric air pressure varies depending on the driving height, and the pressure signal transmitted to ECM will change.
Especially, in the small leakage [0.5 mm (0.02 in)], minute change in the tank pressure has to be detected. This diagnosis period is long (approx. 29 seconds). And if the driving height changes during the diagnosis, the atmospheric air pressure changes. In this case, it becomes difficult to precisely detect the tank pressure variation, causing erroneous diagnosis. Therefore, using the atmospheric pressure switching solenoid, atmospheric air is sealed between the fuel tank pressure sensor and atmospheric pressure switching solenoid, maintaining the air pressure constant and enabling the detection of minute variation of tank pressure.
NOTE: ECM also has the atmospheric air pressure sensor, and always monitors atmospheric air. However, as the monitoring range is large, that is, 53 to 107 kPa (400 to 800 mmHg, 16 to 32 inHg) it is not suitable for detection of minute pressure variation.In the case of small leakage diagnosis, the tank pressure variation is very small, that is, 0.13 to 0.27 kPa (1 to 2 mmHg, 0.04 to 0.08 inHg) and the fuel tank pressure sensor is equipped.