LEMON Manuals: Even more car manuals for everyone: 1960-2025
Home >> Subaru >> 2004 >> Baja Base, Automatic >> Repair and Diagnosis (Single Page) >> Transmission >> Automatic Trans >> Automatic Transmission - Mechanism & Function >> Transmission Control Module (TCM) >> AWD Transfer Clutch Control (MPT Models) >> Notes
April 5, 2026: LEMON Manuals is launched! Read the announcement.

AWD Transfer Clutch Control (MPT Models): Notes

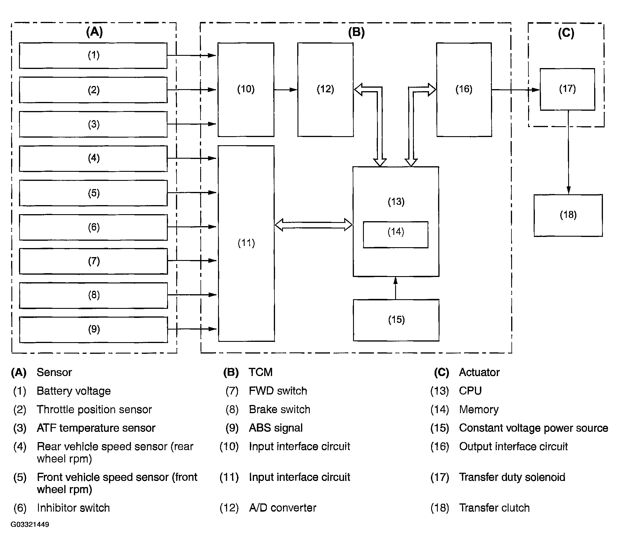
Fig 1: Identifying AWD Transfer Clutch Control Flow Chart (MPT Models)
G03321449Courtesy of SUBARU OF AMERICA, INC.