LEMON Manuals: Even more car manuals for everyone: 1960-2025
Home >> Subaru >> 2004 >> Forester X, Automatic >> Repair and Diagnosis (Single Page) >> Engine Performance >> System >> Diagnostic Trouble Code (DTC) Detecting Criteria (H4SO) >> Diagnostic Trouble Code (DTC) Detecting Criteria >> DTC P0122: Throttle/Pedal Position Sensor/Switch "A" Circuit Low Input
April 5, 2026: LEMON Manuals is launched! Read the announcement.

DTC P0122: Throttle/Pedal Position Sensor/Switch "A" Circuit Low Input

  1. OUTLINE OF DIAGNOSIS 

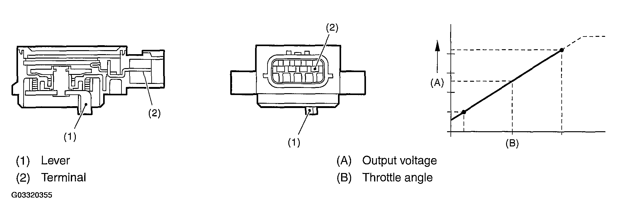
    Detect the open or short circuit of throttle position sensor.

    Judge NG when out of the standard value.

  2. COMPONENT DESCRIPTION 
    Fig 1: Throttle/Pedal Position Sensor Cross Sectional View And Voltage-Angle Graph (Low Input)
    G03320355Courtesy of SUBARU OF AMERICA, INC.
  3. ENABLE CONDITION 
    ENABLE CONDITIONS

    Secondary Parameters Enable Conditions
    Ignition switch ON
  4. GENERAL DRIVE CYCLE 

    Always perform the diagnosis continuously.

  5. DIAGNOSTIC METHOD 

    Judge NG when the continuous time until completing the malfunction criteria below becomes more than the time (2.5 seconds) needed for diagnosis.

    Judge fail safe NG when the continuous time until completing the malfunction criteria below becomes more than the time (0.1 seconds) needed for diagnosis. Judge OK and clear the NG when the malfunction criteria below are completed.

    Judgment Value 

    JUDGMENT VALUE

    Malfunction Criteria Threshold Value
    Output voltage - Closed "LESS THAN EQUAL TO" 0.1 V

    Time Needed for Diagnosis:  2.5 seconds

    Malfunction Indicator Light Illumination:  Illuminates as soon as malfunction occurs.

  6. DTC CLEAR CONDITION 
    • When the OK idling cycle is completed 40 times in a row
    • When "Clear Memory" was performed
  7. MALFUNCTION INDICATOR LIGHT CLEAR CONDITION 
    • When the OK driving cycle was completed 3 times in a row
    • When "Clear Memory" was performed
  8. FAIL SAFE 

    Fix the throttle position to 6.4°.

  9. ECM OPERATION AT DTC 

    Memorize the freeze frame data. (For test mode $02)