LEMON Manuals: Even more car manuals for everyone: 1960-2025
Home >> Subaru >> 2004 >> Forester X, Automatic >> Repair and Diagnosis (Single Page) >> Engine Performance >> System >> Diagnostic Trouble Code (DTC) Detecting Criteria (H4SO) >> Diagnostic Trouble Code (DTC) Detecting Criteria >> DTC P0130: O2 Sensor Circuit (Bank 1 Sensor 1)
April 5, 2026: LEMON Manuals is launched! Read the announcement.

DTC P0130: O2 Sensor Circuit (Bank 1 Sensor 1)

  1. OUTLINE OF DIAGNOSIS 

    Detect the malfunction of front oxygen (A/F) sensor output property.

    Judge NG when the front oxygen (A/F) sensor output continues to be lean.

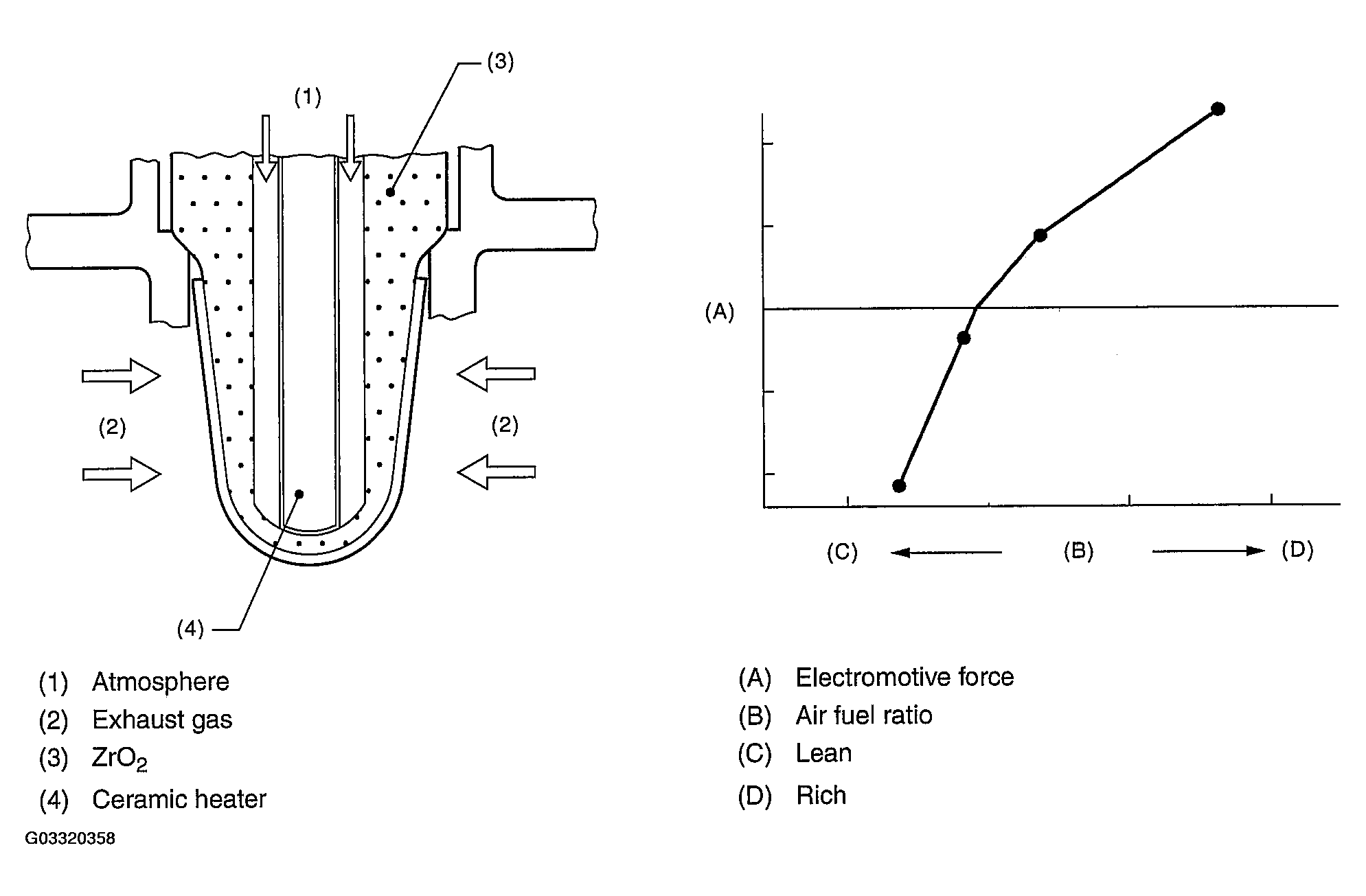
  2. COMPONENT DESCRIPTION 
    Fig 1: A/F Sensor Cross Sectional View And Air Fuel Ratio Graph
    G03320358Courtesy of SUBARU OF AMERICA, INC.
  3. ENABLE CONDITION 
    ENABLE CONDITIONS

    Secondary Parameters Enable Conditions
    Closed loop control In operation
    Fuel shut-off event Not in operation
    Misfire rate during 200 engine revs. "LESS THAN EQUAL TO" 1.0%
    After engine starting 230 seconds or more
    Engine coolant temperature "GREATER THAN EQUAL TO" 75°C (167°F)
  4. GENERAL DRIVING CYCLE 

    Perform the diagnosis continuously in 230 seconds after engine starting.

  5. DIAGNOSTIC METHOD 
    • Abnormality Judgment 

      Judge NG when the continuous time of completing all the malfunction criteria below becomes more than the time (10 seconds) needed for diagnosis

      Judgment Value 

      JUDGMENT VALUE (ABNORMALITY JUDGMENT)

      Malfunction Criteria Threshold Value
      A/F sensor output (VAF) > 2.3 V (lean)
      Lambda fudge factor (LAMBDA) = Rich clamp at MAX limiter (1.375)

      Time Needed for Diagnosis:  10 seconds

      Malfunction Indicator Light Illumination:  Illuminates as soon as malfunction occurs.

    • Normality Judgment 

      Judge OK when the cumulative time until completing all the malfunction criteria below becomes more than the time (10 seconds) needed for diagnosis

      Judgment Value 

      JUDGMENT VALUE (NORMALITY JUDGMENT)

      Malfunction Criteria Threshold Value
      A/F sensor output (VAF) "LESS THAN EQUAL TO" 2.3 V
  6. DTC CLEAR CONDITION 
    • When the OK idling cycle was completed 40 times in a row
    • When "Clear Memory" was performed
  7. MALFUNCTION INDICATOR LIGHT CLEAR CONDITION 
    • When the OK driving cycle was completed 3 times in a row
    • When "Clear Memory" was performed
  8. FAIL SAFE 

    None

  9. ECM OPERATION AT DTC SETTING 

    Memorize the freeze frame data. (For test mode $02)