LEMON Manuals: Even more car manuals for everyone: 1960-2025
Home >> Subaru >> 2004 >> Forester X, Automatic >> Repair and Diagnosis (Single Page) >> Engine Performance >> System >> Diagnostic Trouble Code (DTC) Detecting Criteria (H4SO) >> Diagnostic Trouble Code (DTC) Detecting Criteria >> DTC P0133: O2 Sensor Circuit Slow Response (Bank 1 Sensor 1)
April 5, 2026: LEMON Manuals is launched! Read the announcement.

DTC P0133: O2 Sensor Circuit Slow Response (Bank 1 Sensor 1)

  1. OUTLINE OF DIAGNOSIS 

    Detect the slow response of front oxygen (A/F) sensor.

    Front oxygen (A/F) sensor cover has some ventilation holes for exhaust gas. Clogged ventilation holes are diagnosed.

    When the holes are clogged, the A/F output variation becomes slow comparing with the actual A/F variation because oxygen which reaches the zirconia layer is insufficient. Therefore, if the cover has clogged holes, the rich to lean judgment in ECM is delayed when the change from rich to lean is caused.

    Fig 1: Identifying A/F Sensor Cloging
    G03320361Courtesy of SUBARU OF AMERICA, INC.

    When abnormal, the variation period from rich to lean is longer than when normal, as shown in the figure below.

    When the condition is completed, the variation time from rich to lean and vice versa is calculated by varying the desired A/F value. Judge NG when the period is long.

    Fig 2: Air Fuel Ration Malfunction Graph
    G03320362Courtesy of SUBARU OF AMERICA, INC.
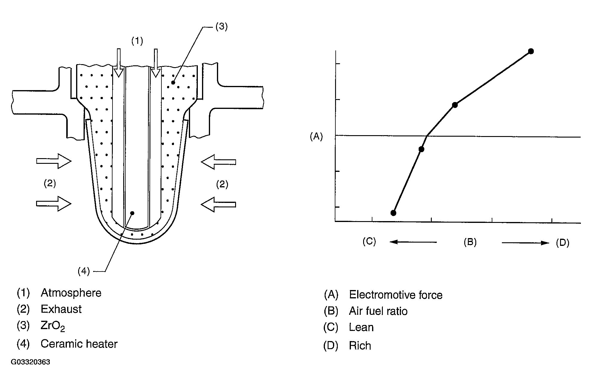
  2. COMPONENT DESCRIPTION 
    Fig 3: A/F Sensor Cross Sectional View And Air Fuel Ratio Graph
    G03320363Courtesy of SUBARU OF AMERICA, INC.
  3. ENABLE CONDITION 
    ENABLE CONDITIONS

    Secondary Parameter Enable Condition
    Closed loop control In operation
    Average lambda 0.703 <--> 1.375
    After starting the engine 225 seconds or more
    Engine coolant temperature "GREATER THAN EQUAL TO" 75°C (167°F)
    Injector pulse 1.792 <--> 4.032 milliseconds
    Engine speed 1800 <--> 3000 rpm
    Vehicle speed "GREATER THAN EQUAL TO" 76 km/h (47 MPH)
    Atmospheric air pressure "GREATER THAN EQUAL TO" 76 kPa (568 mmHg, 22 inHg)
    Throttle position change for 90 milliseconds < 1.60°
    Impedance of lambda sensor 10 <--> 40 Ω
    Misfire rate at engine 200 rev. "LESS THAN EQUAL TO" 1.0%
  4. GENERAL DRIVING CYCLE 

    Perform diagnosis constantly more than 76 km/h (47 MPH) just once in 225 seconds after starting the engine.

  5. DIAGNOSTIC METHOD 

    When enable conditions are completed, measure the A/F sensor output A/F value variation period by changing air fuel ratio desired value to lean and rich. Judge NG when this period is long. Judge OK when this period is short.

    Judge NG when the malfunction criteria below is completed. Judge OK when the malfunction criteria below is not completed.

    Judgment Value 

    JUDGMENT VALUE

    Malfunction Criteria Threshold Value
    Average time of 5 changes from rich to lean, and from lean to rich > See Map 5
    Response time when noise is detected is not used as data.  

    Map 5 

    VEHICLE SPEED AND A/F SENSOR OUTPUT A/F VALUE SPECIFICATIONS

    Engine Speed (Ne) (rpm) 1.75 "LESS THAN EQUAL TO" TP < 2.25 (milliseconds) 2.25 "LESS THAN EQUAL TO" TP < 2.75 (milliseconds) 2.75 "LESS THAN EQUAL TO" TP < 3.19 (milliseconds) 3.19 "LESS THAN EQUAL TO" TP (milliseconds)
    "LESS THAN EQUAL TO" Ne < 1898 1731 1658 1591
    "LESS THAN EQUAL TO" Ne < 2,500 1720 1570 1540 1530
    2,500 "LESS THAN EQUAL TO" Ne < 3,000 1674 1535 1499 1478
    3,000 "LESS THAN EQUAL TO" Ne 1674 1535 1499 1478

    Time Needed for Diagnosis:  2 to 12 seconds

    Malfunction Indicator Light Illumination:  Illuminates when malfunction occurs in 2 continuous driving cycles.

  6. DTC CLEAR CONDITION 
    • When the OK idling cycle was completed 40 times in a row
    • When "Clear Memory" was performed
  7. MALFUNCTION INDICATOR LIGHT CLEAR CONDITION 
    • When the OK driving cycle was completed 3 times in a row
    • When "Clear Memory" was performed
  8. FAIL SAFE 

    None

  9. ECM OPERATION AT DTC SETTING 
    • Memorize the freeze frame data. (For test mode $02)
    • Memorize the diagnostic value and trouble standard value. (For test mode $06)