LEMON Manuals: Even more car manuals for everyone: 1960-2025
Home >> Subaru >> 2004 >> Forester X, Automatic >> Repair and Diagnosis (Single Page) >> Engine Performance >> System >> Diagnostic Trouble Code (DTC) Detecting Criteria (H4SO) >> Diagnostic Trouble Code (DTC) Detecting Criteria >> DTC P0134: O2 Sensor Circuit No Activity Detected (Bank 1 Sensor 1)
April 5, 2026: LEMON Manuals is launched! Read the announcement.

DTC P0134: O2 Sensor Circuit No Activity Detected (Bank 1 Sensor 1)

  1. OUTLINE OF DIAGNOSIS 

    Detect the open circuit of front oxygen (A/F) sensor.

    Diagnosis is performed using A/F microcomputer, and communication is established between A/F microcomputer and main microcomputer. Judge NG when the data of open circuit NG is transmitted.

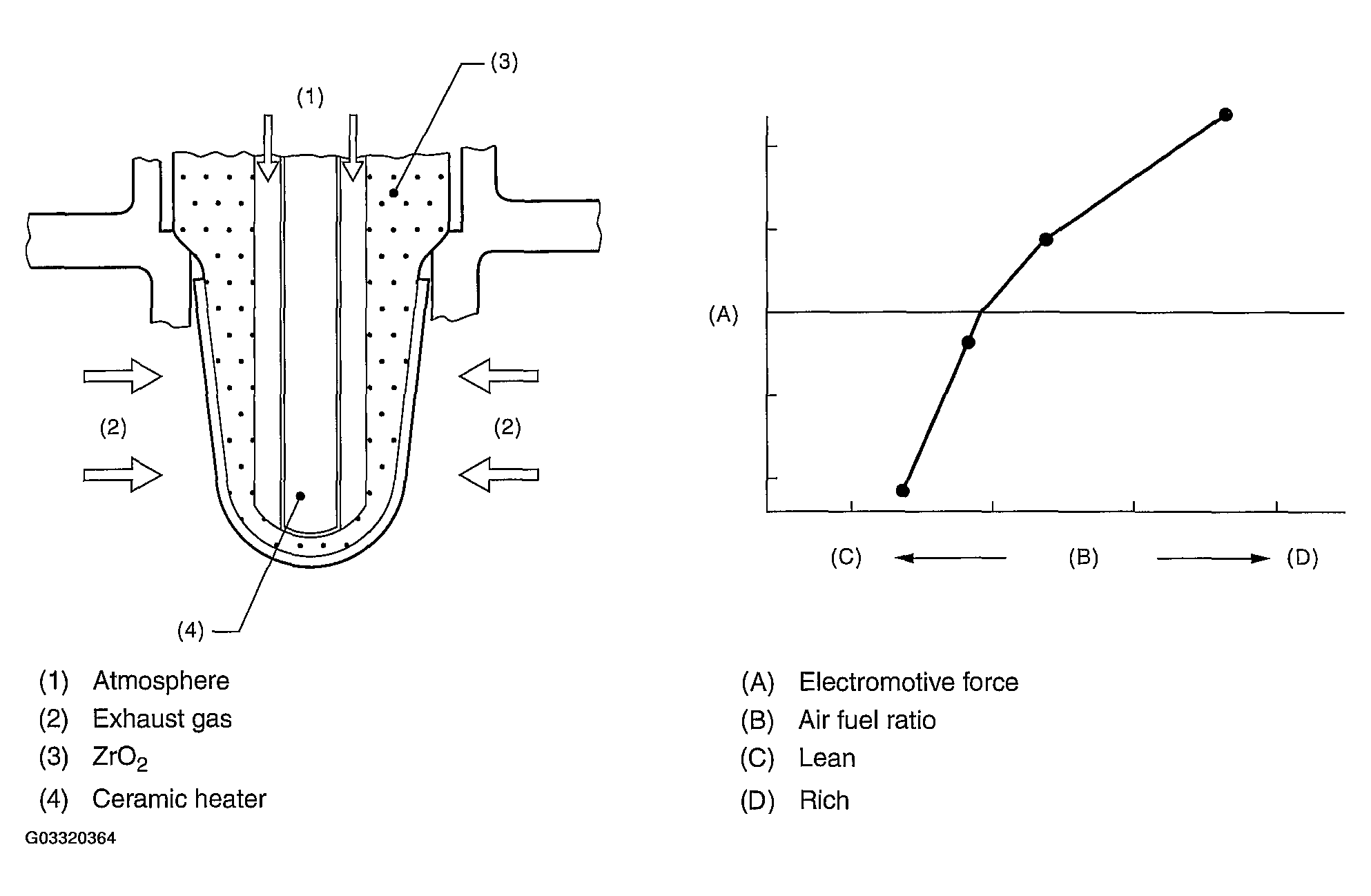
  2. COMPONENT DESCRIPTION 
    Fig 1: A/F Sensor Cross Sectional View And Air Fuel Ratio Graph
    G03320364Courtesy of SUBARU OF AMERICA, INC.
  3. ENABLE CONDITION 
    ENABLE CONDITIONS

    Secondary Parameters Enable Conditions
    None  
  4. GENERAL DRIVING CYCLE 

    Terminate the diagnosis if the open circuit, low voltage short circuit or high voltage short circuit becomes NG once by performing diagnosis continuously.

  5. DIAGNOSTIC METHOD 

    Judge NG when the continuous time of completing the malfunction criteria below becomes more than 5 seconds.

    Judgment Value 

    JUDGMENT VALUE

    Malfunction Criteria Threshold Value
    Heater control In operation
    Resistance of front oxygen (A/F) sensor 500 Ω

    Time Needed for diagnosis:  5 seconds

    Malfunction Indicator Light Illumination:  Illuminates as soon as malfunction occurs.

  6. DTC CLEAR CONDITION 
    • When the OK idling cycle was completed 40 times in a row
    • When "Clear Memory" was performed
  7. MALFUNCTION INDICATOR LIGHT CLEAR CONDITION 
    • When the OK driving cycle was completed 3 times in a row
    • When "Clear Memory" was performed
  8. FAIL SAFE 

    None

  9. ECM OPERATION AT DTC SETTING 

    Memorize the freeze frame data. (For test mode $02)