LEMON Manuals: Even more car manuals for everyone: 1960-2025
Home >> Subaru >> 2004 >> Forester X, Automatic >> Repair and Diagnosis (Single Page) >> Engine Performance >> System >> Diagnostic Trouble Code (DTC) Detecting Criteria (H4SO) >> Diagnostic Trouble Code (DTC) Detecting Criteria >> DTC P0182: Fuel Temperature Sensor "A" Circuit Low Input
April 5, 2026: LEMON Manuals is launched! Read the announcement.

DTC P0182: Fuel Temperature Sensor "A" Circuit Low Input

  1. OUTLINE OF DIAGNOSIS 

    Detect the open or short circuit of fuel temperature sensor.

    Judge NG when out of the standard value.

  2. COMPONENT DESCRIPTION 
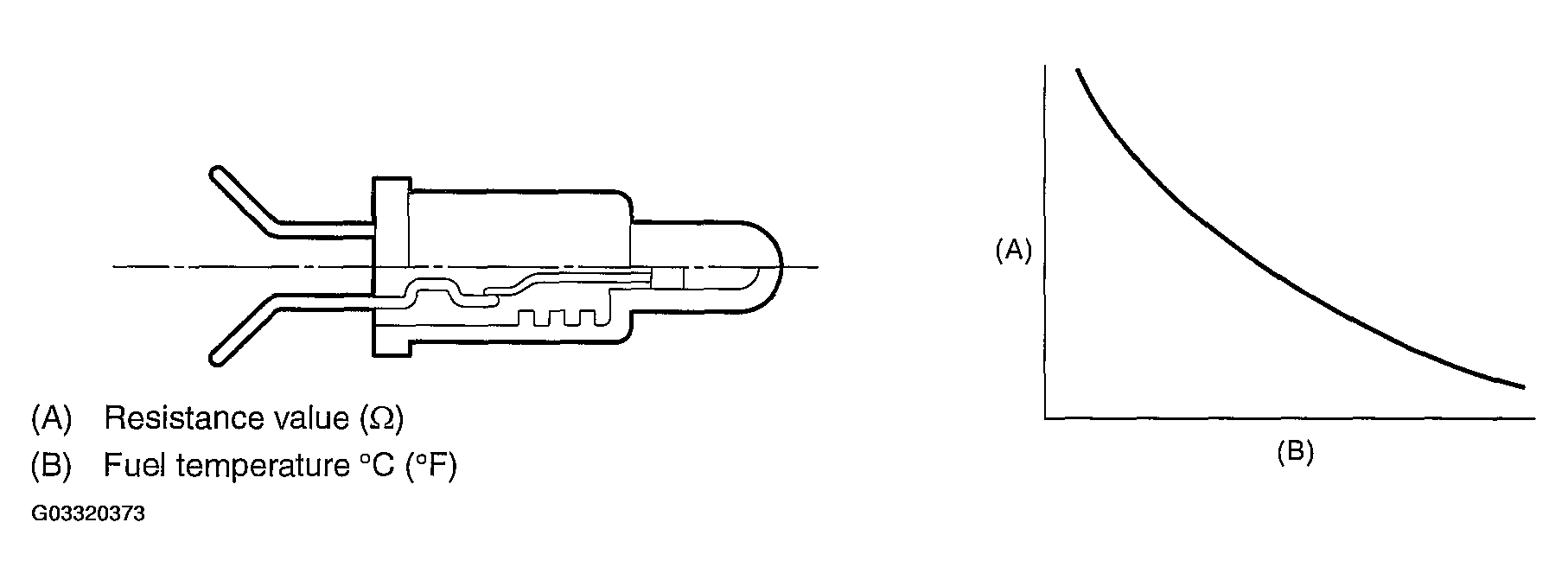
    Fig 1: Fuel Temperature Sensor Cross Sectional View And Temperature-Resistance Graph (Low Input)
    G03320373Courtesy of SUBARU OF AMERICA, INC.
  3. ENABLE CONDITION 
    ENABLE CONDITIONS

    Secondary Parameters Enable Conditions
    None  
  4. GENERAL DRIVING CYCLE 

    Always perform the diagnosis continuously after starting the engine.

  5. DIAGNOSTIC METHOD 

    Judge NG when the continuous time of completing the malfunction criteria below becomes more than the time (2.5 seconds) needed for diagnosis. Judge OK and clear NG when the malfunction criteria below are not completed.

    Judgment Value 

    JUDGMENT VALUE

    Malfunction Criteria Threshold Value
    Output voltage "LESS THAN EQUAL TO" 0.1 V

    Time Needed for Diagnosis:  2.5 seconds

    Malfunction Indicator Light Illumination:  Illuminates as soon as malfunction occurs.

  6. DTC CLEAR CONDITION 
    • When the OK idling cycle was completed 40 times in a row
    • When "Clear Memory" was performed
  7. MALFUNCTION INDICATOR LIGHT CLEAR CONDITION 
    • When the OK driving cycle was completed 3 times in a row
    • When "Clear Memory" was performed
  8. FAIL SAFE 

    Fix the fuel temperature for control at 40°C (104°F).

  9. ECM OPERATION AT DTC SETTING 

    Memorize the freeze frame data. (For test mode $02)