LEMON Manuals: Even more car manuals for everyone: 1960-2025
Home >> Subaru >> 2004 >> Forester X, Automatic >> Repair and Diagnosis (Single Page) >> Engine Performance >> System >> Diagnostic Trouble Code (DTC) Detecting Criteria (H4SO) >> Diagnostic Trouble Code (DTC) Detecting Criteria >> DTC P0463: Fuel Level Sensor Circuit High Input
April 5, 2026: LEMON Manuals is launched! Read the announcement.

DTC P0463: Fuel Level Sensor Circuit High Input

  1. OUTLINE OF DIAGNOSIS 

    Detect the open or short circuit of fuel level sensor.

    Judge NG when out of the standard value.

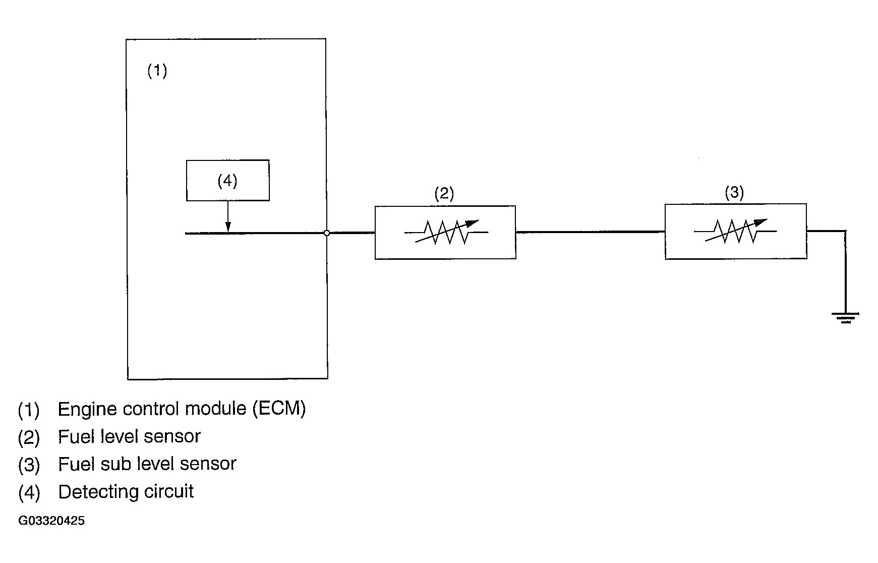
  2. COMPONENT DESCRIPTION 
    Fig 1: Fuel Level Sensor Circuit Diagram High Input
    G03320425Courtesy of SUBARU OF AMERICA, INC.
  3. ENABLE CONDITION 
    ENABLE CONDITION

    Secondary Parameter Enable Conditions
    Battery voltage 8 -16V
    Ignition switch ON
  4. GENERAL DRIVING CYCLE 

    Always perform the diagnosis continuously.

  5. DIAGNOSTIC METHOD 

    Judge NG when the cumulative time until completing the malfunction criteria below becomes more than the time (0.5 seconds) needed for diagnosis, and then judge OK and clear the NG when the malfunction criteria below are not completed.

    Judgment Value 

    JUDGMENT VALUE

    Malfunction Criteria Threshold Value
    Output voltage "GREATER THAN EQUAL TO" 5.08 V

    Time Needed for Diagnosis:  2.5 seconds

    Malfunction Indicator Light Illumination:  Illuminates when malfunction occurs in 2 continuous driving cycles.

  6. DTC CLEAR CONDITION 
    • When the OK idling cycle is completed 40 times in a row
    • When "Clear Memory" was performed
  7. MALFUNCTION INDICATOR LIGHT CLEAR CONDITION 
    • When the OK driving cycle is completed 3 times in a row
    • When "Clear Memory" was performed
  8. FAIL SAFE 

    None

  9. ECM OPERATION AT DTC SETTING 

    Memorize the freeze frame data. (For test mode $02)