LEMON Manuals: Even more car manuals for everyone: 1960-2025
Home >> Subaru >> 2004 >> Forester X, Automatic >> Repair and Diagnosis (Single Page) >> Engine Performance >> Testing & Diagnosis >> Diagnostic Trouble Code (DTC) Detecting Criteria (H4SO) >> Diagnostic Trouble Code (DTC) Detecting Criteria >> DTC P1134: A/F Sensor Micro-Computer Problem
April 5, 2026: LEMON Manuals is launched! Read the announcement.

DTC P1134: A/F Sensor Micro-Computer Problem

  1. OUTLINE OF DIAGNOSIS 
    • Detect the malfunction of IC communication.
    • Judge NG when the communication to front oxygen (A/F) sensor control IC is unable.
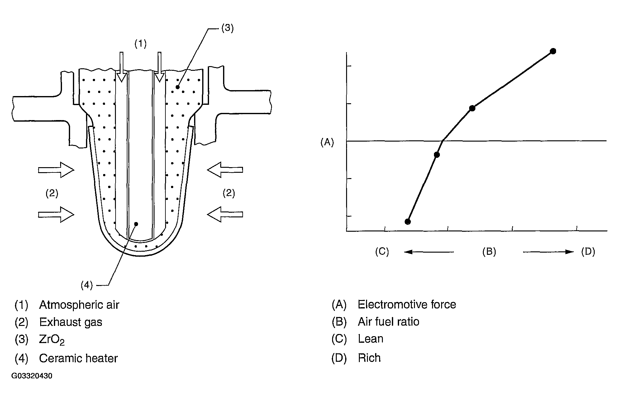
  2. COMPONENT DESCRIPTION 
    Fig 1: Identifying Front Oxygen (A/F) Sensor And Air Fuel Ratio Graph (DTC P1134)
    G03320430Courtesy of SUBARU OF AMERICA, INC.
  3. ENABLE CONDITION 
    ENABLE CONDITION

    Secondary Parameters Enable Conditions
    Battery voltage "GREATER THAN EQUAL TO" 10.9 V
    After engine starting "GREATER THAN EQUAL TO" 140 seconds
  4. GENERAL DRIVING CYCLE 

    Perform the diagnosis continuously in 140 seconds after starting the engine.

  5. DIAGNOSTIC METHOD 
    • Abnormality Judgment 

      Judge NG when the malfunction criteria below are completed.

      Judgment Value 

      JUDGMENT VALUE

      Malfunction Criteria Threshold Value
      Communication error to main CPU "GREATER THAN EQUAL TO" 250 times

      Time Needed for Diagnosis:  12.5 seconds

      Malfunction Indicator Light Illumination:  Illuminates as soon as malfunction occurs.

    • Normality Judgment 

      Judge OK and clear the NG when the malfunction criteria below are completed.

      Judgment Value 

      JUDGMENT VALUE

      Malfunction Criteria Threshold Value
      Error None
  6. DTC CLEAR CONDITION 
    • When the OK idling cycle is completed 40 times in a row
    • When "Clear Memory" was performed
  7. MALFUNCTION INDICATOR LIGHT CLEAR CONDITION 
    • When the OK driving cycle is completed 3 times in a row
    • When "Clear Memory" was performed
  8. FAIL SAFE 

    None

  9. ECM OPERATION AT DTC SETTING 

    Memorize the freeze frame data. (For test mode $02)