LEMON Manuals: Even more car manuals for everyone: 1960-2025
Home >> Subaru >> 2004 >> Forester XT, Automatic >> Repair and Diagnosis >> Engine Performance >> Engine Control Systems >> Fuel Injection (Fuel Systems) (H4DOTC) >> General Description >> Components >> Air Intake System
April 5, 2026: LEMON Manuals is launched! Read the announcement.

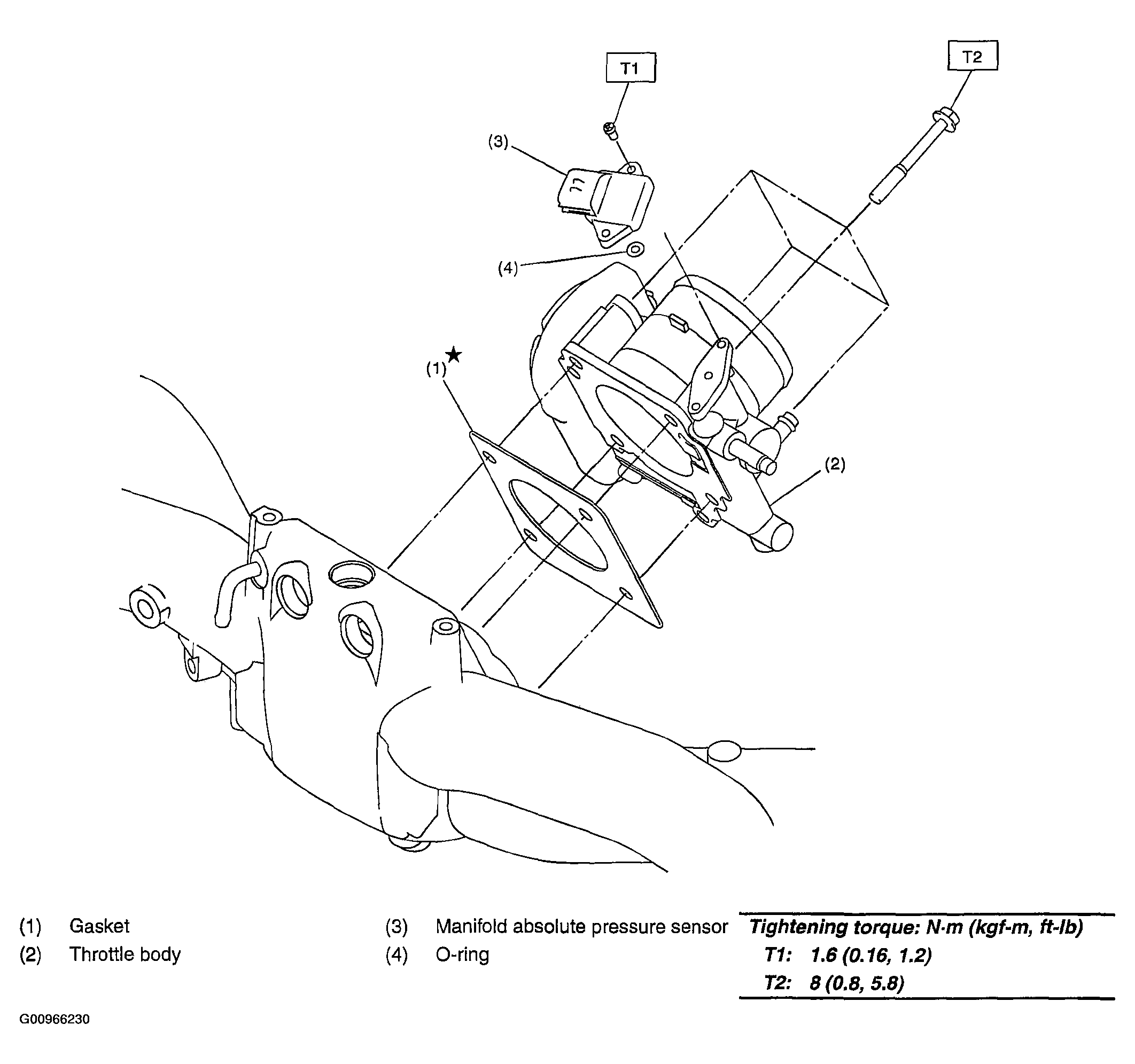
Air Intake System

Fig 1: Air Intake System Replacement Components With Torque Specifications
G00966230Courtesy of SUBARU OF AMERICA, INC.