LEMON Manuals: Even more car manuals for everyone: 1960-2025
Home >> Subaru >> 2004 >> Forester XT, Automatic >> Repair and Diagnosis >> Engine Performance >> Engine Control Systems >> Fuel Injection (Fuel Systems) (H4DOTC) >> Main Relay >> Removal
April 5, 2026: LEMON Manuals is launched! Read the announcement.

Main Relay: Removal

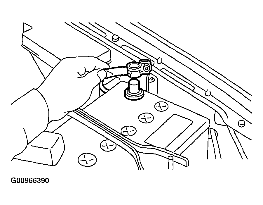
  1. Disconnect the ground cable from battery.
    Fig 1: Disconnecting Ground Cable From Battery
    G00966390Courtesy of SUBARU OF AMERICA, INC.
  2. Remove the glove box. < Ref. to REMOVAL , Glove Box . >
  3. Remove the bolt which holds the main relay bracket on the body.
  4. Disconnect the connectors from the main relay.
    Fig 2: Identifying Main Relay
    G00966391Courtesy of SUBARU OF AMERICA, INC.