LEMON Manuals: Even more car manuals for everyone: 1960-2025
Home >> Subaru >> 2004 >> Forester XT, Standard >> Repair and Diagnosis (Single Page) >> Engine Performance >> System >> Diagnostic Trouble Code (DTC) Detecting Criteria (H4DOTC) >> Diagnostic Trouble Code (DTC) Detecting Criteria >> DTC P0133: O2 Sensor Circuit Slow Response (Bank 1 Sensor 1)
April 5, 2026: LEMON Manuals is launched! Read the announcement.

DTC P0133: O2 Sensor Circuit Slow Response (Bank 1 Sensor 1)

  1. OUTLINE OF DIAGNOSIS 

    Detect time-lag of front oxygen (A/F) sensor response.

    Front oxygen (A/F) sensor cover has some ventilation holes for exhaust gas. Clogged ventilation holes are diagnosed.

    When the holes are clogged, the A/F output variation becomes slow comparing with the actual A/F variation because oxygen which reaches the zirconia layer is insufficient. Therefore, if the cover has clogged holes, the rich to lean judgment in ECM is delayed when the change from rich to lean is caused.

    Fig 1: Identifying O2 Sensor
    G03320235Courtesy of SUBARU OF AMERICA, INC.
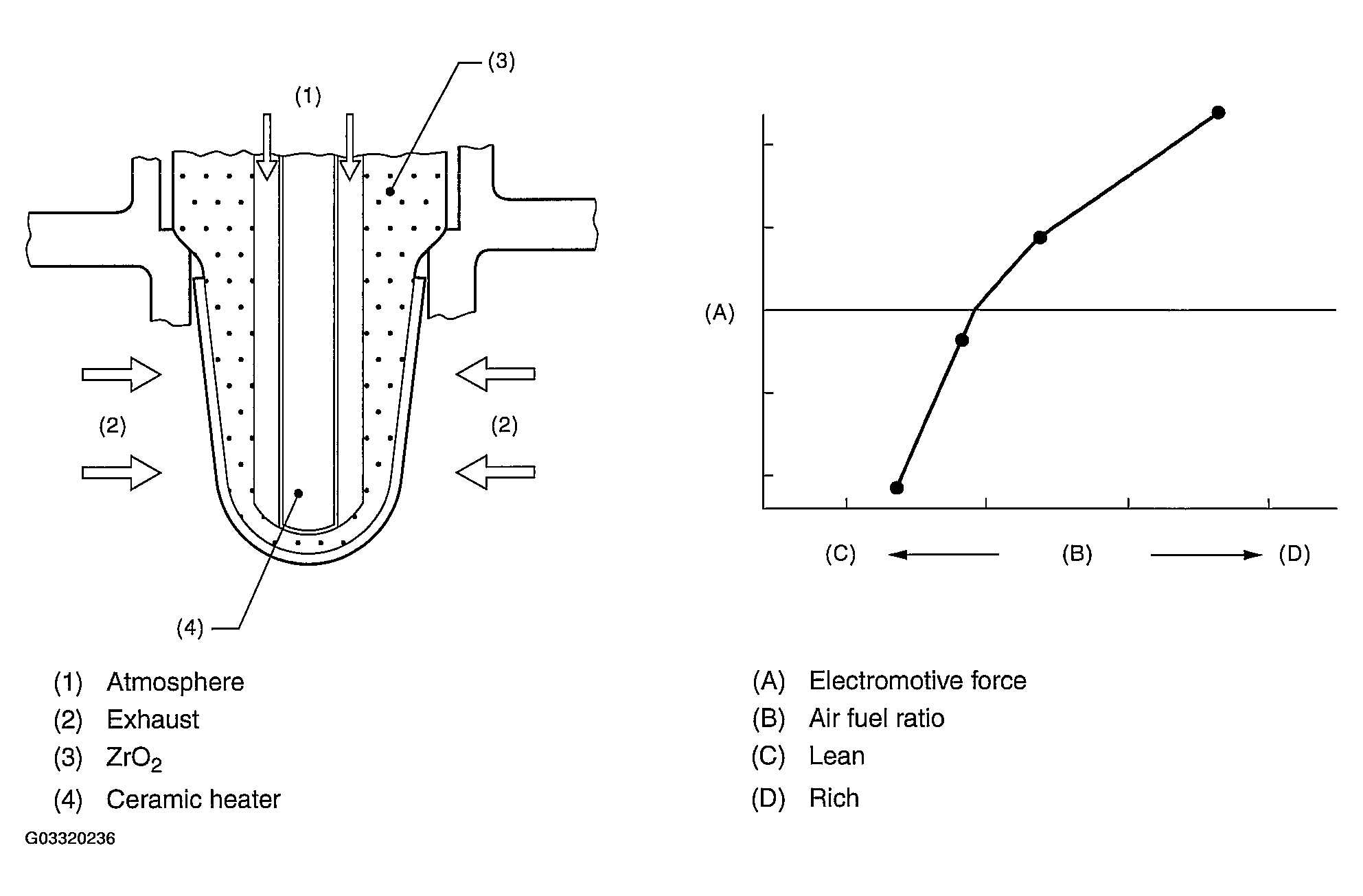
  2. COMPONENT DESCRIPTION 
    Fig 2: O2 Sensor Circuit Slow Response Graph
    G03320236Courtesy of SUBARU OF AMERICA, INC.
  3. ENABLE CONDITION 
    ENABLE CONDITION CHART

    Secondary Parameters Enable Conditions
    All secondary parameter enable conditions more than 1 second
    Battery voltage < 10.9 V
    Atmospheric pressure < 75.1 kPa (563 mmHg, 22.2 inHg)
    Closed loop control with main feedback operating
    Impedance of front oxygen (A/F) sensor 0 <--> 50 Ω:
    After engine starting 120 seconds or more
    Engine coolant temperature "GREATER THAN EQUAL TO" 75°C (167°F)
    Engine speed 1000 <--> 3200 rpm
    Vehicle speed 10 <--> 120 km/h
    (6.21 <--> 74.6 MPH)
    Amount of intake air 10 <--> 31 g/s
    Engine load change during 0.5 engine rev. "GREATER THAN EQUAL TO" 0.02 g/rev
    All conditions for EVAP canister purge to be in enable
    Learning value of EVAP conc. during purge "GREATER THAN EQUAL TO" 0.2
    Total time of operating canister purge 20 seconds or more
  4. GENERAL DRIVING CYCLE 

    Perform the diagnosis only once at a constant speed of 10 to 120 km/h (6.21 to 74.6 MPH) in 120 seconds or more after vehicle starts to run with engine warmed-up.

  5. DIAGNOSTIC METHOD 

    Integrate the difference of faf in every 128 milliseconds and difference of lambda value.

    After integrate 1640 times (210 seconds), calculate the diagnosis value.

    Judge NG when the malfunction criteria below are completed. Judge OK and clear NG when the malfunction criteria below are not completed.

    Judgment Value 

    JUDGMENT VALUE CHART

    Malfunction Criteria Threshold Value
    parafca = td2faf/td2lmd "GREATER THAN EQUAL TO" 0.318
    where, td2faf (N) = td2faf (n-1) + |d2faf (n)|
    td2lmd (N) = td2lmd (n-1) + |d2lmd (n)| add up for a total of 210 seconds
    d2faf (n) = (faf (n) - faf (n-1)) - (faf (n-1) - faf (n-2))
    d2lmd (n) = (lmd (n) - lmd (n-1)) - (lmd (n-1) - lmd (n-2))
    faf = main feedback compensation coefficient every 128 milliseconds
    lmd = output lambda every 128 milliseconds

    Time Needed for Diagnosis:  210 seconds

    Malfunction Indicator Light Illumination:  Illuminates when malfunction occurs in 2 continuous driving cycles.

  6. DTC CLEAR CONDITION 
    • When the OK idling cycle was completed 40 times in a row
    • When "Clear Memory" was performed
  7. MALFUNCTION INDICATOR LIGHT CLEAR CONDITION 
    • When the OK driving cycle was completed 3 times in a row
    • When "Clear Memory" was performed
  8. FAIL SAFE 
    • Front oxygen (A/F) sensor main learning correction: Not allowed to calculate.
    • Correction when re-starting at high temperature: Normally minimum value 0.3 --> 0.
    • Purge control: Not allowed to purge.
  9. ECM OPERATING AT DTC SETTING 
    • Memorize the freeze frame data. (For test mode $02)
    • Memorize the diagnostic value and trouble standard value. (For test mode $06)