LEMON Manuals: Even more car manuals for everyone: 1960-2025
Home >> Subaru >> 2004 >> Forester XT, Standard >> Repair and Diagnosis (Single Page) >> Engine Performance >> System >> Diagnostic Trouble Code (DTC) Detecting Criteria (H4DOTC) >> Diagnostic Trouble Code (DTC) Detecting Criteria >> DTC P0462: Fuel Level Sensor Circuit Low Input
April 5, 2026: LEMON Manuals is launched! Read the announcement.

DTC P0462: Fuel Level Sensor Circuit Low Input

  1. OUTLINE OF DIAGNOSIS 

    Detect the open or short circuit of fuel level sensor.

    Judge NG when out of the standard value.

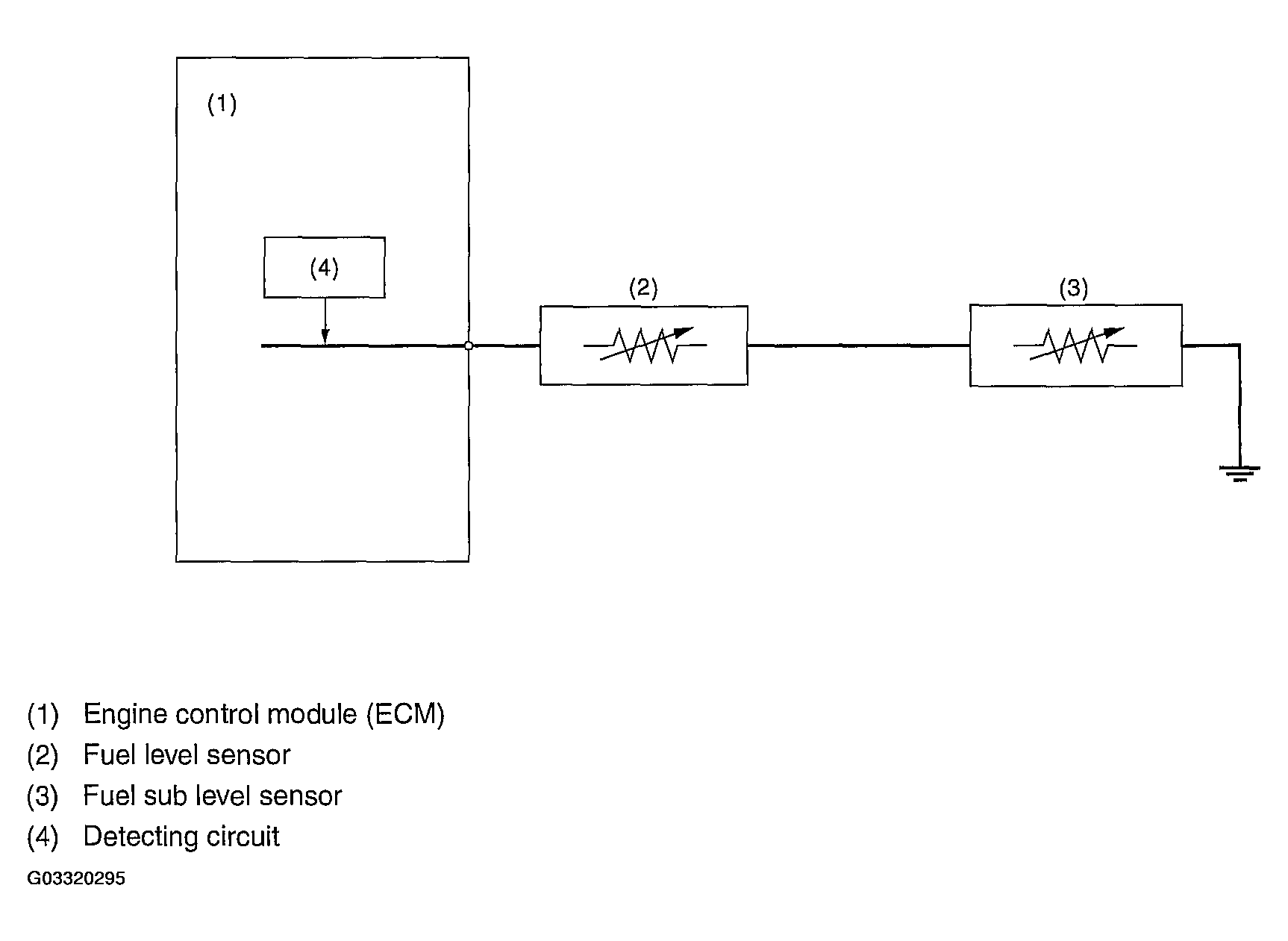
  2. COMPONENT DESCRIPTION 
    Fig 1: DTC P0462 - Fuel Level Sensor Circuit Low Input - Component Description
    G03320295Courtesy of SUBARU OF AMERICA, INC.
  3. ENABLE CONDITION 
    ENABLE CONDITION CHART

    Secondary Parameters Enable Conditions
    None  
  4. GENERAL DRIVING CYCLE 

    Always perform the diagnosis continuously

  5. DIAGNOSTIC METHOD 
    • Abnormality Judgment 

      Judge NG when the continuous time of completing the malfunction criteria below becomes more than the time needed for diagnosis (2.5 seconds).

      Judgment Value 

      JUDGMENT VALUE CHART

      Malfunction Criteria Threshold Value
      Ignition switch ON
      Battery voltage "GREATER THAN EQUAL TO" 10.9 V
      After engine starting 3 seconds or more
      Output voltage < 0.02 V

      Time Needed for Diagnosis:  2.5 seconds

      Malfunction Indicator Light Illumination:  Illuminates when malfunction occurs in 2 continuous driving cycles.

    • Normality Judgment 

      Judge OK and clear the NG when the malfunction criteria below are completed.

      Judgment Value 

      JUDGMENT VALUE CHART

      Malfunction Criteria Threshold Value
      Ignition switch ON
      Battery voltage "GREATER THAN EQUAL TO" 10.9 V
      After engine starting 3 seconds or more
      Output voltage "GREATER THAN EQUAL TO" 0.02 V
  6. DTC CLEAR CONDITION 
    • When the OK idling cycle was completed 40 times in a row
    • When "Clear Memory" was performed
  7. MALFUNCTION INDICATOR LIGHT CLEAR CONDITION 
    • When the OK driving cycle was completed 3 times in a row
    • When "Clear Memory" was performed
  8. FAIL SAFE 

    None

  9. ECM OPERATION AT DTC SETTING 

    Memorize the freeze frame data. (For test mode $02)