LEMON Manuals: Even more car manuals for everyone: 1960-2025
Home >> Subaru >> 2004 >> Forester XT, Standard >> Repair and Diagnosis (Single Page) >> Engine Performance >> System >> Diagnostic Trouble Code (DTC) Detecting Criteria (H4DOTC) >> Diagnostic Trouble Code (DTC) Detecting Criteria >> DTC P1153: O2 Sensor Circuit Range/Performance (High) (Bank1 Sensor1)
April 5, 2026: LEMON Manuals is launched! Read the announcement.

DTC P1153: O2 Sensor Circuit Range/Performance (High) (Bank1 Sensor1)

  1. OUTLINE OF DIAGNOSIS 

    Detect that lambda value remains High.

    Judge NG when lambda value is abnormal in accordance with lambda value of front oxygen (A/F) sensor and running condition that is vehicle speed, amount of intake air engine coolant temperature, sub feedback control, etc.

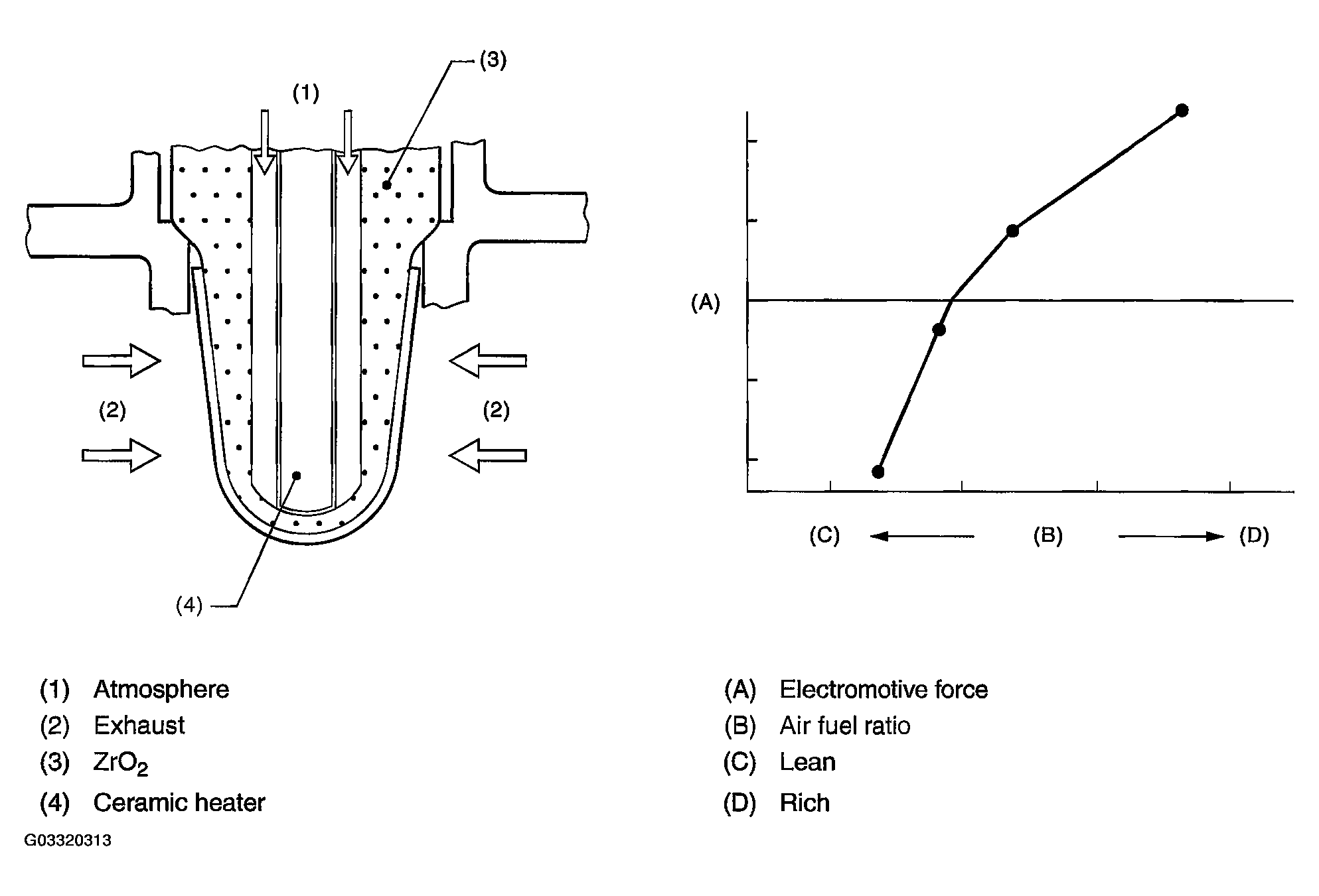
    Lambda value = Actual air fuel ratio/Theoretical air fuel ratio

    Lambda > 1: Lean

    Lambda < 1: Rich

  2. COMPONENT DESCRIPTION 
    Fig 1: O2 Sensor Circuit Range/Performance Graph
    G03320313Courtesy of SUBARU OF AMERICA, INC.
  3. ENABLE CONDITION 
    ENABLE CONDITION CHART

    Secondary Parameters Enable Conditions
    All secondary parameters to be in enable conditions 4 seconds or more
    Battery voltage > 10.9 V
    Atmospheric pressure > 75.1 kPa (563 mmHg, 22.2 inHg)
    Rear oxygen sensor sub feedback Operating
    Rear oxygen sensor output voltage - feedback target voltage -0.2 V <-- --> 0.1 V
    or
    rear oxygen sensor sub feedback compensation coefficient On Min.
    or
    rear oxygen sensor sub feedback compensation coefficient On Max.
    After engine starting 60 seconds or more
    Engine coolant temperature "GREATER THAN EQUAL TO" 75°C (167°F)
    Vehicle speed "GREATER THAN EQUAL TO" 20 km/h (12 MPH)
    Amount of intake air "GREATER THAN EQUAL TO" 6g/s
    Load change during 0.5 engine rev. "LESS THAN EQUAL TO" 0.01 g/rev
    Impedance of front oxygen (A/F) sensor 0 <-- --> 50 Ω
    Learning value of evaporation gas density "LESS THAN EQUAL TO" 0.2
    Total time of operating canister purge 20 seconds or more
  4. GENERAL DRIVING CYCLE 

    Perform the diagnosis continuously at a constant speed of 20 km/h (12 MPH) or more over 60 seconds after vehicle starts to run.

  5. DIAGNOSTIC METHOD 

    Judge NG when the continuous time of completing the malfunction criteria below becomes more than the time needed for diagnosis (10 seconds). Judge OK and clear NG when the malfunction criteria below are not completed.

    Judgment Value 

    JUDGMENT VALUE CHART

    Malfunction Criteria Threshold Value
    Output lambda when rear oxygen sensor sub feedback compensation coefficient value being at not low limit "GREATER THAN EQUAL TO" 1.15

    Time Needed for Diagnosis:  10 seconds

    Malfunction Indicator Light Illumination:  Illuminates when malfunction occurs in 2 continuous driving cycles.

  6. DTC CLEAR CONDITION 
    • When the OK idling cycle was completed 40 times in a row
    • When "Clear Memory" was performed
  7. MALFUNCTION INDICATOR LIGHT CLEAR CONDITION 
    • When the OK driving cycle was completed 3 times in a row
    • When "Clear Memory" was performed
  8. FAIL SAFE 
    • Front oxygen (A/F) sensor main learning correction: Not allowed to calculate
    • Correction when re-starting at high temperature: Normally minimum value 0.3 --> 0
    • Purge control: Not allowed to purge
  9. ECM OPERATION AT DTC SETTING 

    Memorize the freeze frame data. (For test mode $02)