LEMON Manuals: Even more car manuals for everyone: 1960-2025
Home >> Subaru >> 2004 >> Outback L.L. Bean Edition >> Repair and Diagnosis (Single Page) >> Engine Performance >> System >> Diagnostic Trouble Code (DTC) Detecting Criteria (H6DO) >> Diagnostic Trouble Code (DTC) Detecting Criteria >> DTC P0464: Fuel Level Sensor Circuit Intermittent >> Diagnostic Method
April 5, 2026: LEMON Manuals is launched! Read the announcement.

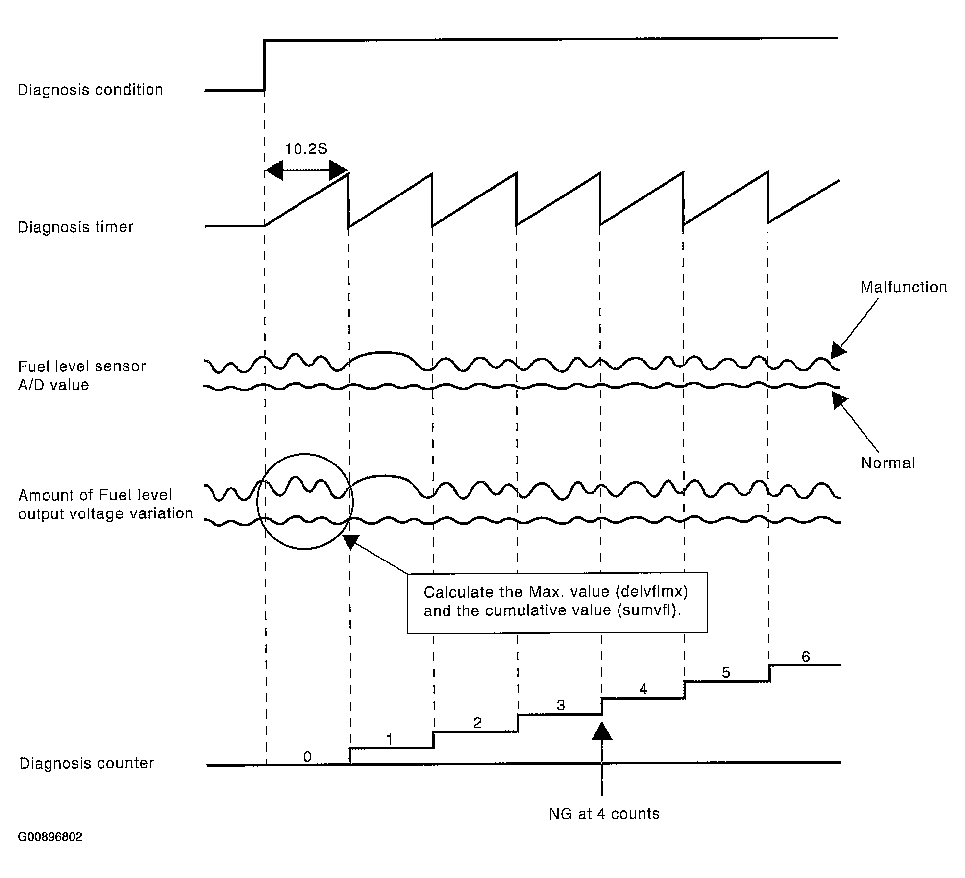
Diagnostic Method

Calculate the Max. value (delflmax) and cumulative value (sumfl) of output voltage variation of fuel level sensor during 10.2 seconds. Judge it normal when both max. and cumulative values are not over the threshold value. Otherwise, when either of them is over the threshold value, count the diagnosis counter up. And judge NG if the counter indicated 4 counts.

Fig 1: Fuel Lever Sensor Diagnostic Timer Graph
G00896802Courtesy of SUBARU OF AMERICA, INC.

Judge NG when the malfunction criteria below are completed.

Do not count the diagnosis counter up when the following conditions are completed during 10.2 seconds.

Fig 3: Minimum & Maximum Tank Pressure & Voltage Table
G00896804Courtesy of SUBARU OF AMERICA, INC.

Time Needed for Diagnosis:  10.2 seconds x 4 times

Malfunction Indicator Light Illumination:  Illuminates when malfunction occurs in 2 continuous driving cycles.

Judge OK and clear the NG when the malfunction criteria below are completed.

Fig 4: Normality Judgment Value Table
G00896805Courtesy of SUBARU OF AMERICA, INC.