LEMON Manuals: Even more car manuals for everyone: 1960-2025
Home >> Subaru >> 2004 >> Outback L.L. Bean Edition >> Repair and Diagnosis (Single Page) >> Engine Performance >> Theory and Operation >> Diagnostic Trouble Code (DTC) Detecting Criteria (H6DO) >> Diagnostic Trouble Code (DTC) Detecting Criteria >> DTC P0134: O2 Sensor Circuit No Activity Detected (Bank 1 Sensor 1) >> Component Description
April 5, 2026: LEMON Manuals is launched! Read the announcement.

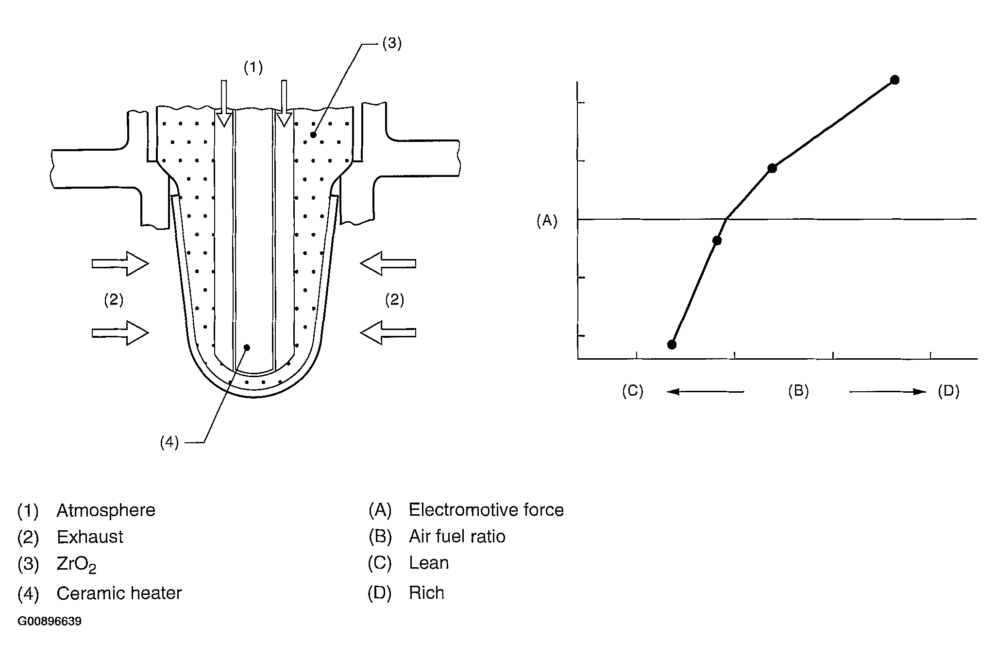
Component Description

Fig 1: Identifying Front Oxygen (A/F) Sensor Heater Components & Air Fuel Ratio Graph
G00896639Courtesy of SUBARU OF AMERICA, INC.