LEMON Manuals: Even more car manuals for everyone: 1960-2025
Home >> Subaru >> 2005 >> Baja Base, Automatic >> Repair and Diagnosis (Single Page) >> Engine Performance >> System >> Diagnostic Trouble Code (DTC) Detecting Criteria (H4SO) >> Diagnostic Trouble Code (DTC) Detecting Criteria >> DTC P0134 - O Sensor Circuit No Activity Detected (Bank 1 Sensor 1) - >> Component Description
April 5, 2026: LEMON Manuals is launched! Read the announcement.

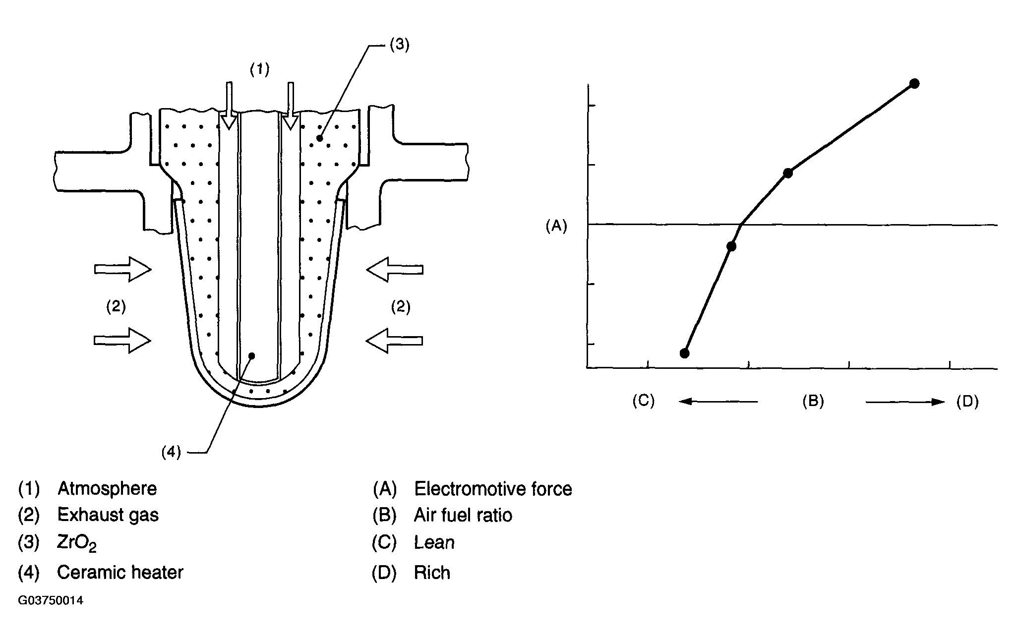
Component Description

Fig 1: O2 Sensor Components And Diagnosis Outline For No Activity Detected - Bank 1 Sensor 1
G03750014Courtesy of SUBARU OF AMERICA, INC.