LEMON Manuals: Even more car manuals for everyone: 1960-2025
Home >> Subaru >> 2005 >> Baja Base, Automatic >> Repair and Diagnosis (Single Page) >> Engine Performance >> System >> Diagnostic Trouble Code (DTC) Detecting Criteria (H4SO) >> Diagnostic Trouble Code (DTC) Detecting Criteria >> DTC P1137 - O Sensor Circuit Middle Electric Potential (Bank 1 Sensor 1) - >> Component Description
April 5, 2026: LEMON Manuals is launched! Read the announcement.

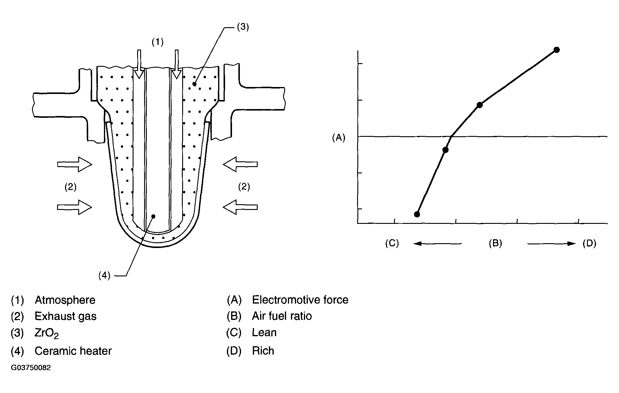
Component Description

Fig 1: DTC P1137 Diagnosis Outline - O2 Sensor Circuit Middle Electric Potential (Bank 1 Sensor 1)
G03750082Courtesy of SUBARU OF AMERICA, INC.