LEMON Manuals: Even more car manuals for everyone: 1960-2025
Home >> Subaru >> 2005 >> Baja Base, Automatic >> Repair and Diagnosis (Single Page) >> Engine Performance >> Testing & Diagnosis >> Diagnostic Trouble Code (DTC) Detecting Criteria (H4SO) >> Diagnostic Trouble Code (DTC) Detecting Criteria >> DTC P0121 - Throttle/Pedal Position Sensor/Switch "A" Circuit Range/Performance - >> Component Description
April 5, 2026: LEMON Manuals is launched! Read the announcement.

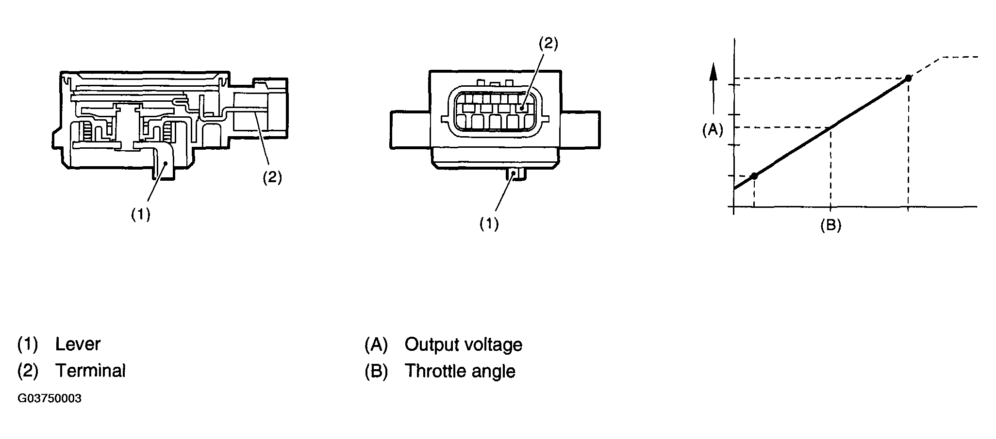
Component Description

Fig 1: Identifying Throttle/Pedal Position Sensor And Switch Components And Diagnosis Outline
G03750003Courtesy of SUBARU OF AMERICA, INC.