LEMON Manuals: Even more car manuals for everyone: 1960-2025
Home >> Subaru >> 2005 >> Baja Base, Automatic >> Repair and Diagnosis (Single Page) >> Engine Performance >> Testing & Diagnosis >> Diagnostic Trouble Code (DTC) Detecting Criteria (H4SO) >> Diagnostic Trouble Code (DTC) Detecting Criteria >> DTC P0464 - Fuel Level Sensor Circuit Intermittent - >> Diagnostic Method >> Notes
April 5, 2026: LEMON Manuals is launched! Read the announcement.

Diagnostic Method: Notes

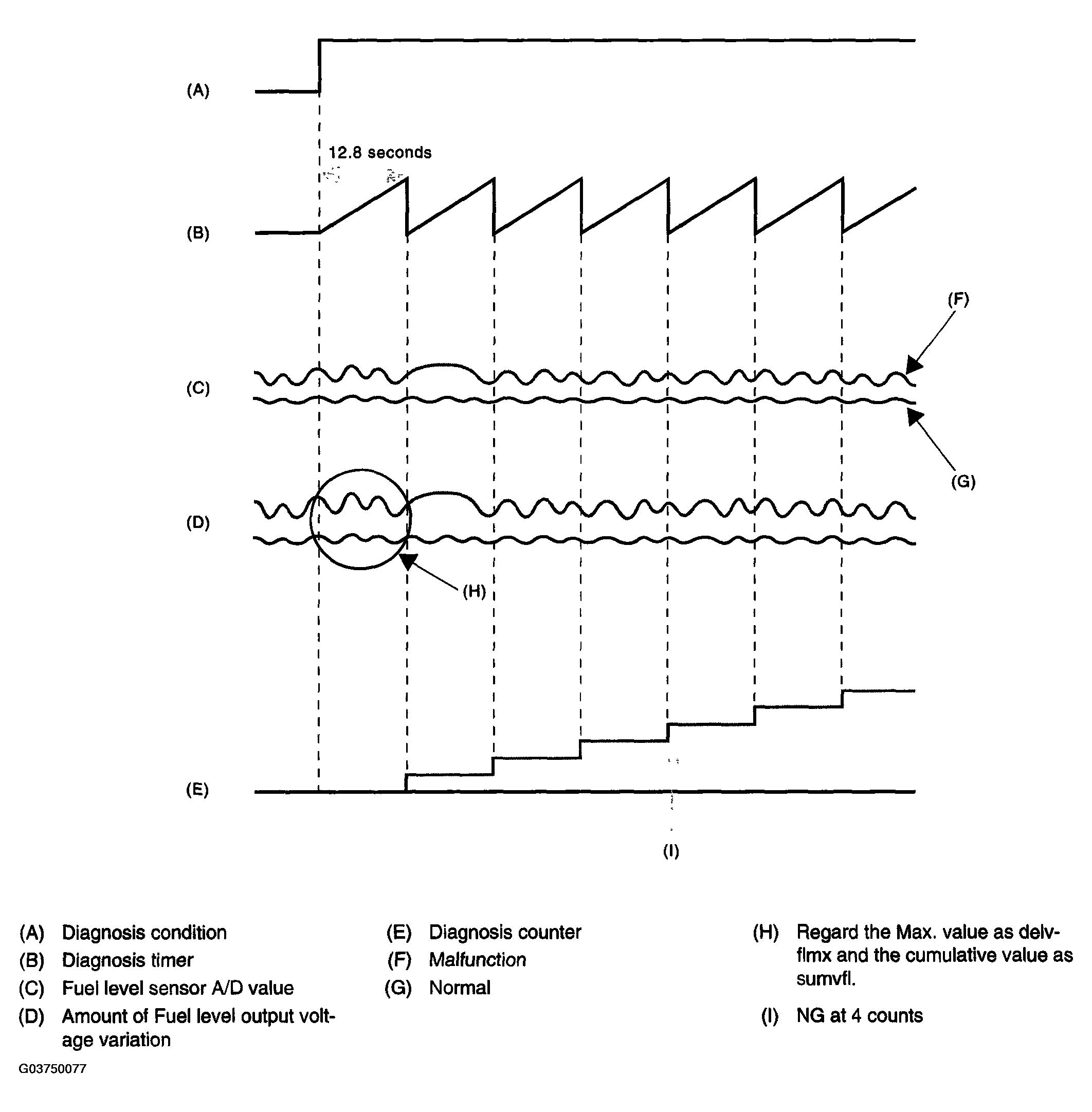
Calculate the max. value of the amount of output voltage variation from fuel level sensor and cumulative value during 12.8 seconds. Comparing the max value and cumulative value with the threshold value, and judge OK when the both do not go over the threshold value. Otherwise, when one of them goes over the threshold, count the counter up. Judge the ECM is troubled when the counter increased 4 times in a row.

Fig 1: Fuel Level Sensor And Cumulative Value Graph
G03750077Courtesy of SUBARU OF AMERICA, INC.