LEMON Manuals: Even more car manuals for everyone: 1960-2025
Home >> Subaru >> 2005 >> Baja Base, Automatic >> Repair and Diagnosis >> Accessories & Equipment >> Cruise Control Systems >> Cruise Control System >> General Description >> Components With Torque Specifications >> Model With Electronic Control Throttle
April 5, 2026: LEMON Manuals is launched! Read the announcement.

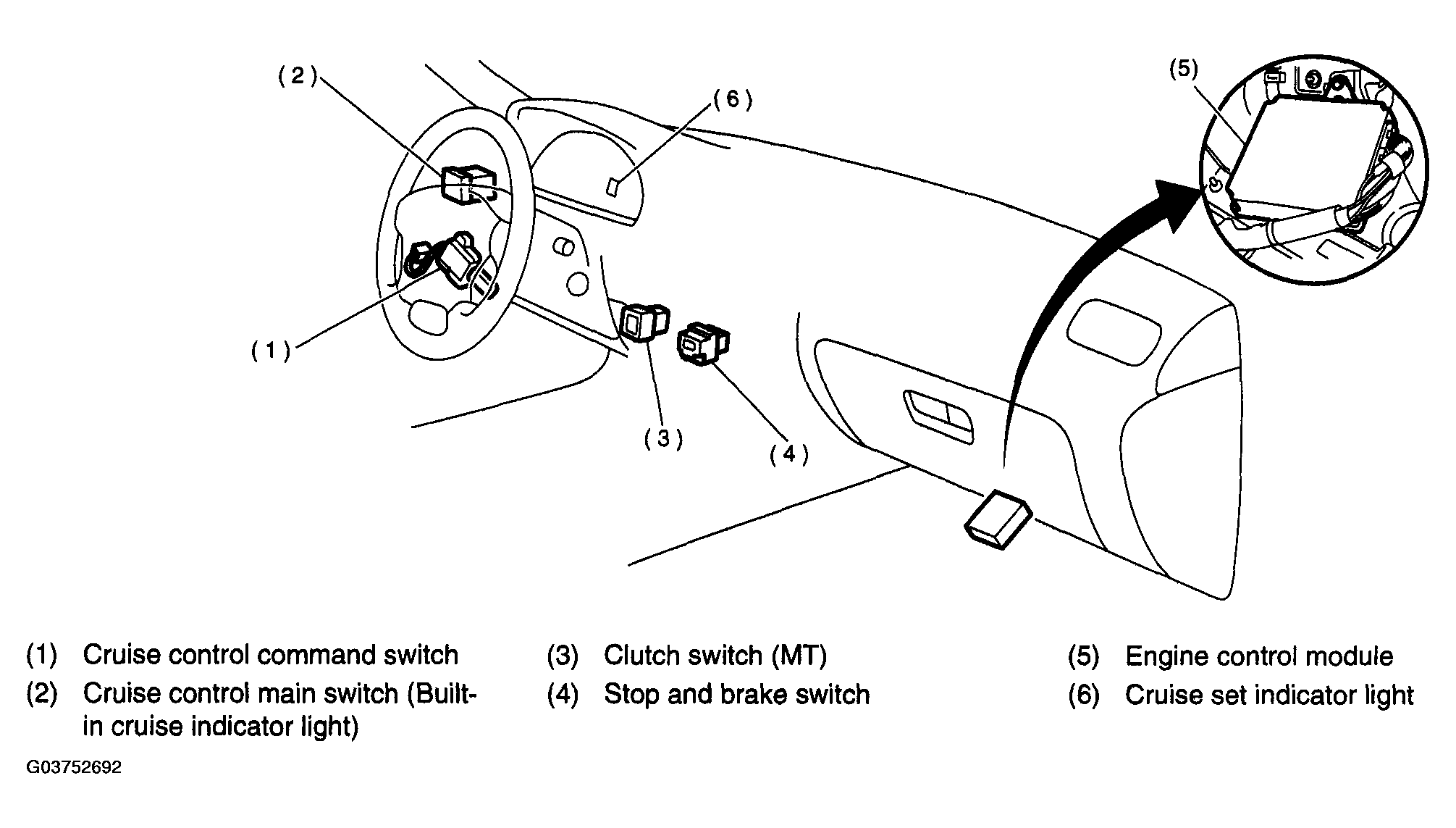
Model With Electronic Control Throttle

Fig 1: Identifying Cruise Control System Components (With Electronic Control Throttle)
G03752692Courtesy of SUBARU OF AMERICA, INC.