LEMON Manuals: Even more car manuals for everyone: 1960-2025
Home >> Subaru >> 2005 >> Forester XT, Automatic >> Repair and Diagnosis (Single Page) >> Engine Performance >> System >> Diagnostic Trouble Code (DTC) Detecting Criteria (H4DOTC) >> Diagnostic Trouble Code (DTC) Detecting Criteria >> DTC P0464 Fuel Level Sensor Circuit Intermittent >> Diagnostic Method
April 5, 2026: LEMON Manuals is launched! Read the announcement.

Diagnostic Method

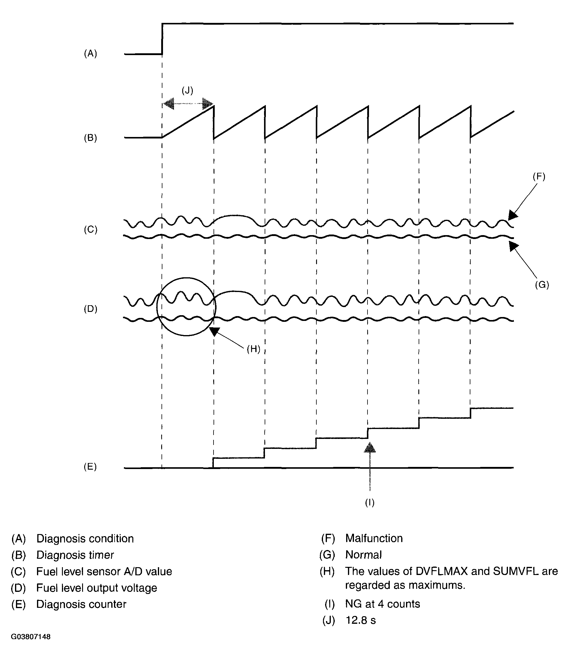
Calculate the Max. value (delflmax) and cumulative value (sumfl) of output voltage variation of fuel level sensor during 12.8 seconds. Judge it normal when both max. and cumulative values are not over the threshold value. Otherwise, when either of them is over the threshold value, count the diagnosis counter up. And judge NG if the counter indicated 4 counts.

Fig 1: Fuel Level Voltage Graph
G03807148Courtesy of SUBARU OF AMERICA, INC.

Judge NG when the malfunction criteria below are completed.

Judgment Value 

MALFUNCTION CRITERIA AND THRESHOLD VALUE

Malfunction Criteria Threshold Value
Integrated times of the condition reaching follows, DELFLMAX >/= 0.2 V or SUMFL >/= 15 V where, DELFLMAX is Max. deviation of sensor output during 12.8 seconds. >/= 4 times
SUMFL is integrated value of sensor output deviation during 12.8 seconds.  

Do not count the diagnosis counter up when the following conditions are completed during 12.8 seconds.

TANK PRESSURE REFERENCE

Max - Min of tank pressure during 12.8 seconds >/= 0.05 kPa (0.375 mmHg, 0.01 inHg)
Max - Min of battery voltage during 12.8 seconds >/= 0.4V

Time Needed for Diagnosis:  12.8 seconds x 4 times

Malfunction Indicator Light Illumination:  Illuminates when malfunction occurs in 2 continuous driving cycles.

Judge OK and clear the NG when the malfunction criteria below are completed.

Judgment Value 

MALFUNCTION CRITERIA AND THRESHOLD VALUE

Malfunction Criteria Threshold Value
DELFLMAX <0.2V
SUMFL Where DELFLMAX is Max. deviation of sensor output during 12.8 seconds. SUMFL is integrated value of sensor output deviation during 12.8 seconds. <15V