LEMON Manuals: Even more car manuals for everyone: 1960-2025
Home >> Subaru >> 2005 >> Outback Limited, Automatic >> Repair and Diagnosis (Single Page) >> Engine Performance >> System >> Diagnostic Trouble Code (DTC) Detecting Criteria (H4SO) >> Diagnostic Trouble Code (DTC) Detecting Criteria >> DTC P1153 O2 Sensor Circuit Range/Performance (High) (Bank1 Sensor1) >> Component Description
April 5, 2026: LEMON Manuals is launched! Read the announcement.

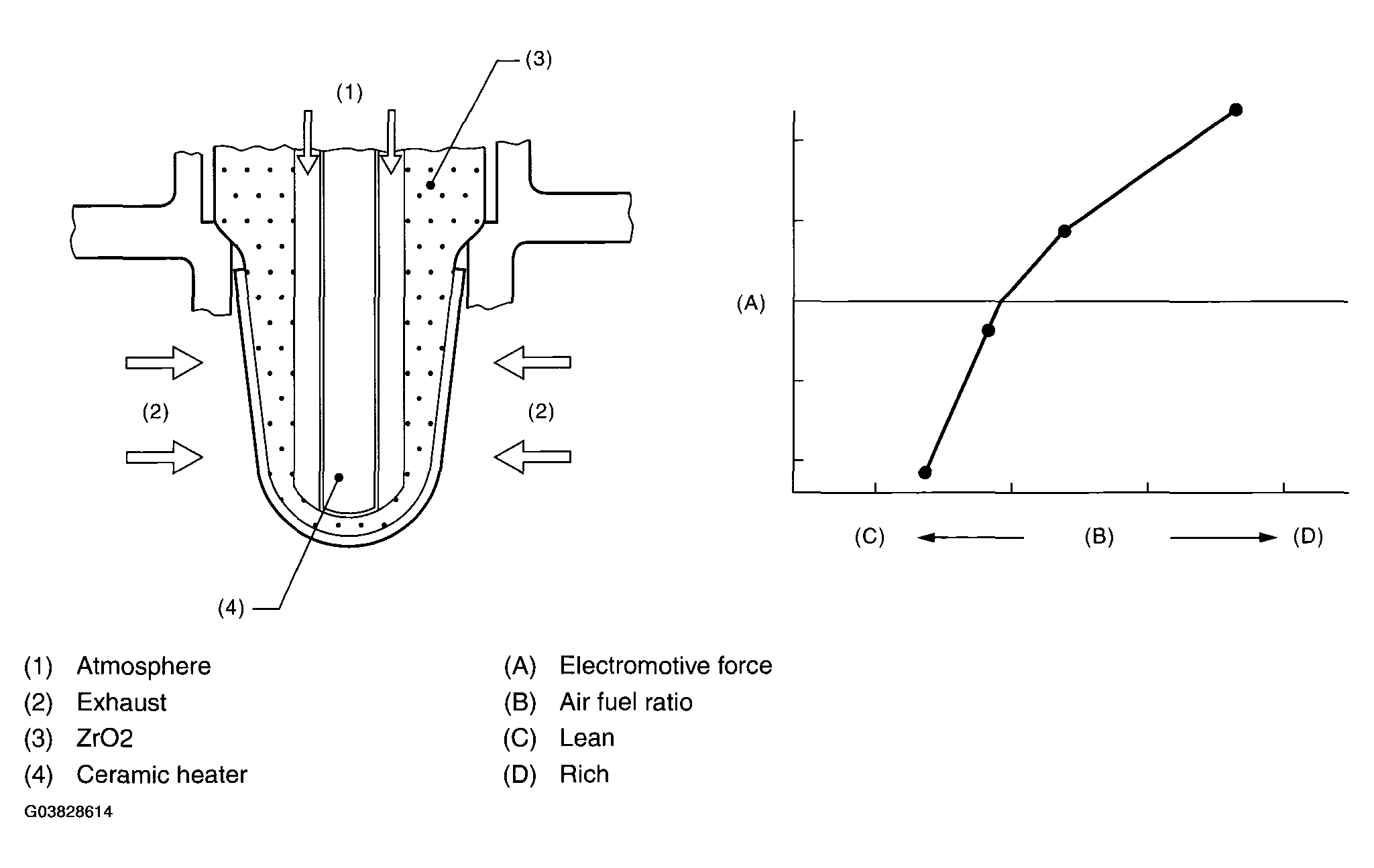
Component Description

Fig 1: DTC P1153 O2 Sensor Circuit Range/Performance High - Description Diagram (Bank1 Sensor1)
G03828614Courtesy of SUBARU OF AMERICA, INC.