LEMON Manuals: Even more car manuals for everyone: 1960-2025
Home >> Subaru >> 2005 >> Outback XT Limited, Standard >> Repair and Diagnosis (Single Page) >> Engine Performance >> System >> Diagnostic Trouble Code (DTC) Detecting Criteria (H4DOTC) >> Diagnostic Trouble Code (DTC) Detecting Criteria >> DTC P0464 Fuel Level Sensor Circuit Intermittent >> Diagnostic Method >> Notes
April 5, 2026: LEMON Manuals is launched! Read the announcement.

Diagnostic Method: Notes

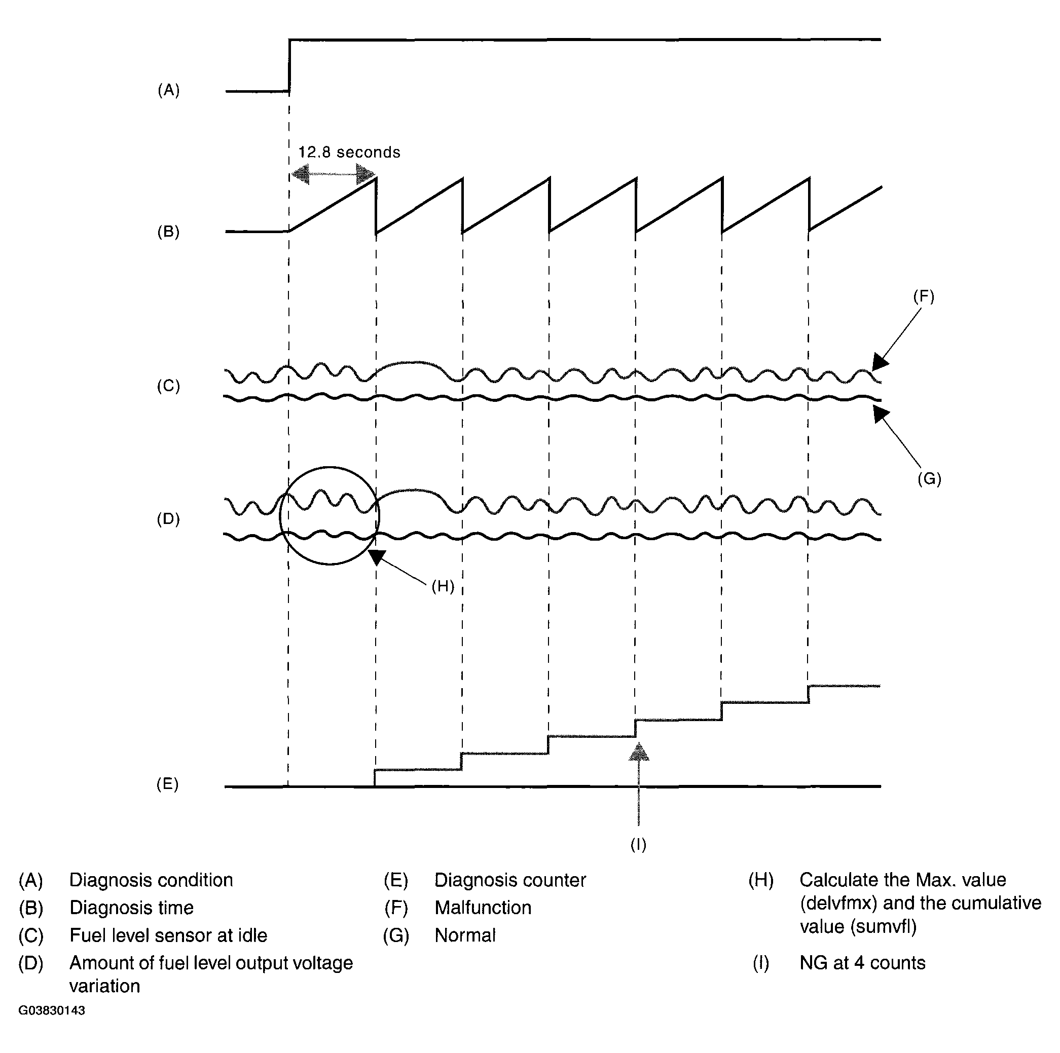
Calculate the Max. value (delflmax) and cumulative value (sumfl) of output voltage variation of fuel level sensor during 12.8 seconds. Judge it normal when both max. and cumulative values are not over the threshold value. Otherwise, when either of them is over the threshold value, count the diagnosis counter up. And judge NG if the counter indicated 6 counts.

Fig 1: Identifying Timing Chart (DTC P0464 Fuel Level Sensor)
G03830143Courtesy of SUBARU OF AMERICA, INC.