LEMON Manuals: Even more car manuals for everyone: 1960-2025
Home >> Subaru >> 2005 >> Outback XT Limited, Standard >> Repair and Diagnosis (Single Page) >> Engine Performance >> System >> Diagnostic Trouble Code (DTC) Detecting Criteria (H4DOTC) >> Diagnostic Trouble Code (DTC) Detecting Criteria >> DTC P1152 O2 Sensor Circuit Range/Performance (Low) (Bank1 Sens0R1) >> Component Description
April 5, 2026: LEMON Manuals is launched! Read the announcement.

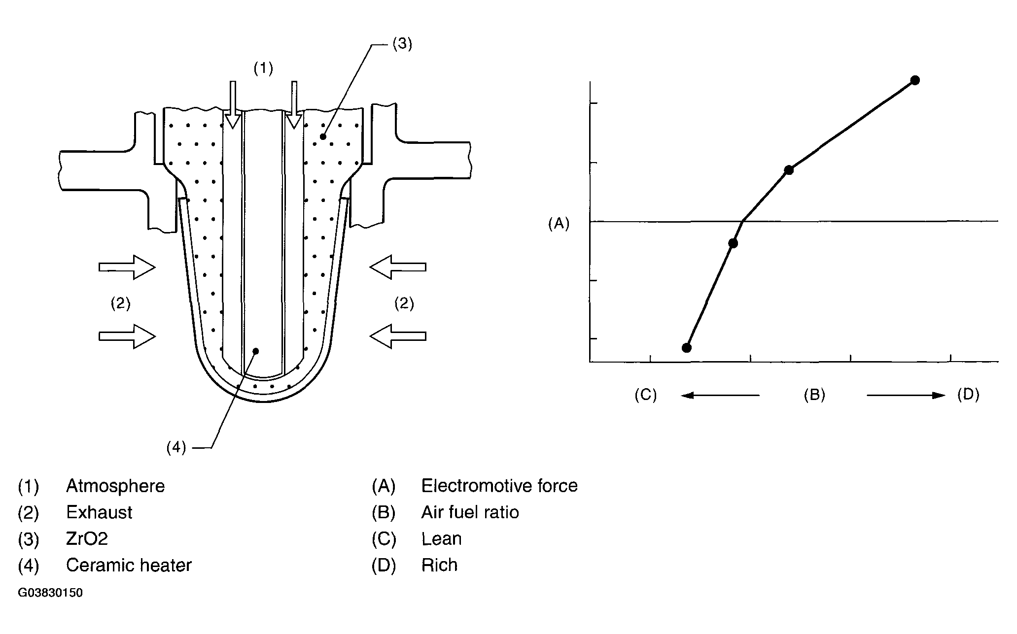
Component Description

Fig 1: DTC P1152 O2 Sensor Circuit Range/Performance (Low) - Component Description
G03830150Courtesy of SUBARU OF AMERICA, INC.