LEMON Manuals: Even more car manuals for everyone: 1960-2025
Home >> Subaru >> 2006 >> Outback R >> Repair and Diagnosis >> Engine Performance >> Engine Control Systems >> Fuel Injection (Fuel Systems) (H6DO) >> General Description >> Components With Torque Specifications >> Fuel Injector
April 5, 2026: LEMON Manuals is launched! Read the announcement.

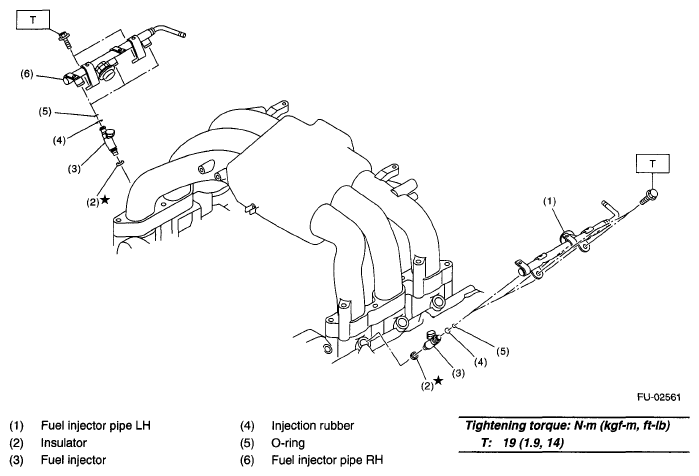
Fuel Injector

Fig 1: Fuel Injector Components With Torque Specifications
G05018393