LEMON Manuals: Even more car manuals for everyone: 1960-2025
Home >> Subaru >> 2008 >> Outback Base, Automatic >> Repair and Diagnosis >> External Pages >> Different car >> Section 166 (Power Steering System) >> Pipe Assembly >> Installation
April 5, 2026: LEMON Manuals is launched! Read the announcement.

Pipe Assembly: Installation

WARNING: This page is about a different car, the 2008 Subaru Impreza. However, it is still accessible from the selected car via links, so may be relevant.
  1. Temporarily tighten the hose bracket bolt.
    Fig 1: Identifying Hose Bracket
    G05663089Courtesy of SUBARU OF AMERICA, INC.
  2. Install the plastic clip to the pressure hose and suction hose.
    CAUTION: Align the installation position of the plastic clip with the protector edge of the suction hose.
    • Non-turbo model
      Fig 2: Identifying Pressure Hose And Suction Hose - Non-Turbo Model
      G05663090Courtesy of SUBARU OF AMERICA, INC.
    • Turbo model
    Fig 3: Identifying Pressure Hose And Suction Hose - Turbo Model
    G05663091Courtesy of SUBARU OF AMERICA, INC.
  3. Connect the suction hose and return hose to the reservoir tank.
    CAUTION: Firmly insert the plastic clip of return hose to the bracket.
    Fig 4: Connecting Suction Hose And Return Hose To Reservoir Tank
    G05663092Courtesy of SUBARU OF AMERICA, INC.
  4. Connect the suction hose and pressure hose to the oil pump. Tighten the eye bolt of pressure hose.

    Tightening torque: 

    40 N.m (4.1 kgf-m, 29.5 ft-lb) 

    • Non-turbo model
      Fig 5: Identifying Suction Hose And Pressure Hose - Non-Turbo Model
      G05663093Courtesy of SUBARU OF AMERICA, INC.
    • Turbo model
    Fig 6: Identifying Suction Hose And Pressure Hose - Turbo Model
    G05663094Courtesy of SUBARU OF AMERICA, INC.
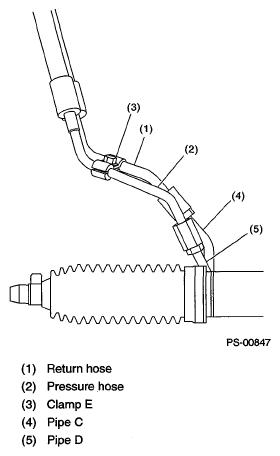
  5. Temporarily connect pressure hose and pipe C, and the return hose and pipe D. Temporarily tighten the bolt of clamp E.
    Fig 7: Identifying Pressure Hose And Return Hose
    G05663095Courtesy of SUBARU OF AMERICA, INC.
  6. Tighten clamp E.

    Tightening torque: 

    7.5 N.m (0.76 kgf-m, 5.53 ft-lb) 

  7. Tighten the pressure hose and pipe C, and the return hose and pipe D.

    Tightening torque: 

    15 N.m (1.5 kgf-m, 10.8 ft-lb) 

  8. Connect pipes A and B to the four pipe joints of the gearbox.

    Tightening torque: 

    Refer to "COMPONENT" of "GENERAL DESCRIPTION".  <Ref. to POWER ASSISTED SYSTEM , COMPONENT, General Description. >

    Fig 8: Locating Pipes A And B
    G05663096Courtesy of SUBARU OF AMERICA, INC.
  9. Install the front crossmember support plate and jack-up plate.
  10. Lower the vehicle.
  11. Tighten the bolts which hold the hose bracket.

    Tightening torque: 

    10 N.m (1.02 kgf-m, 7.4 ft-lb) 

    Fig 9: Identifying Front Crossmember Support Plate And Jack-Up Plate
    G05663097Courtesy of SUBARU OF AMERICA, INC.
  12. Install the air intake duct.
  13. Connect the ground cable to battery.
  14. Fill with the specified fluid.
    CAUTION: Never start the engine before filling with fluid; otherwise the vane pump may become seized.
  15. Finally, check the clearance between pipes or hoses as shown in the figure indicated in "General Diagnostic Table". <Ref. to INSPECTION OF CLEARANCE , INSPECTION, General Diagnostic Table. >