LEMON Manuals: Even more car manuals for everyone: 1960-2025
Home >> Subaru >> 2008 >> Outback Base, Standard >> Repair and Diagnosis >> Engine Performance >> System >> Diagnostic Trouble Code (DTC) Detecting Criteria (H4SO) >> Diagnostic Trouble Code (DTC) Detecting Criteria >> DTC P1493 EGR Solenoid Valve Signal #1 Circuit Malfunction (High Input) >> Component Description
April 5, 2026: LEMON Manuals is launched! Read the announcement.

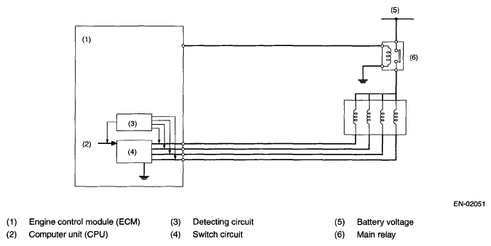
Component Description

Fig 1: Diagnosis Outline For EGR Solenoid Valve Signal #1 Circuit Malfunction (High Input)
G05340039Courtesy of SUBARU OF AMERICA, INC.