LEMON Manuals: Even more car manuals for everyone: 1960-2025
Home >> Subaru >> 2008 >> Outback F6-3.0L DOHC >> Repair and Diagnosis >> Powertrain Management >> Computers and Control Systems >> Air Flow Meter/Sensor >> Locations
April 5, 2026: LEMON Manuals is launched! Read the announcement.

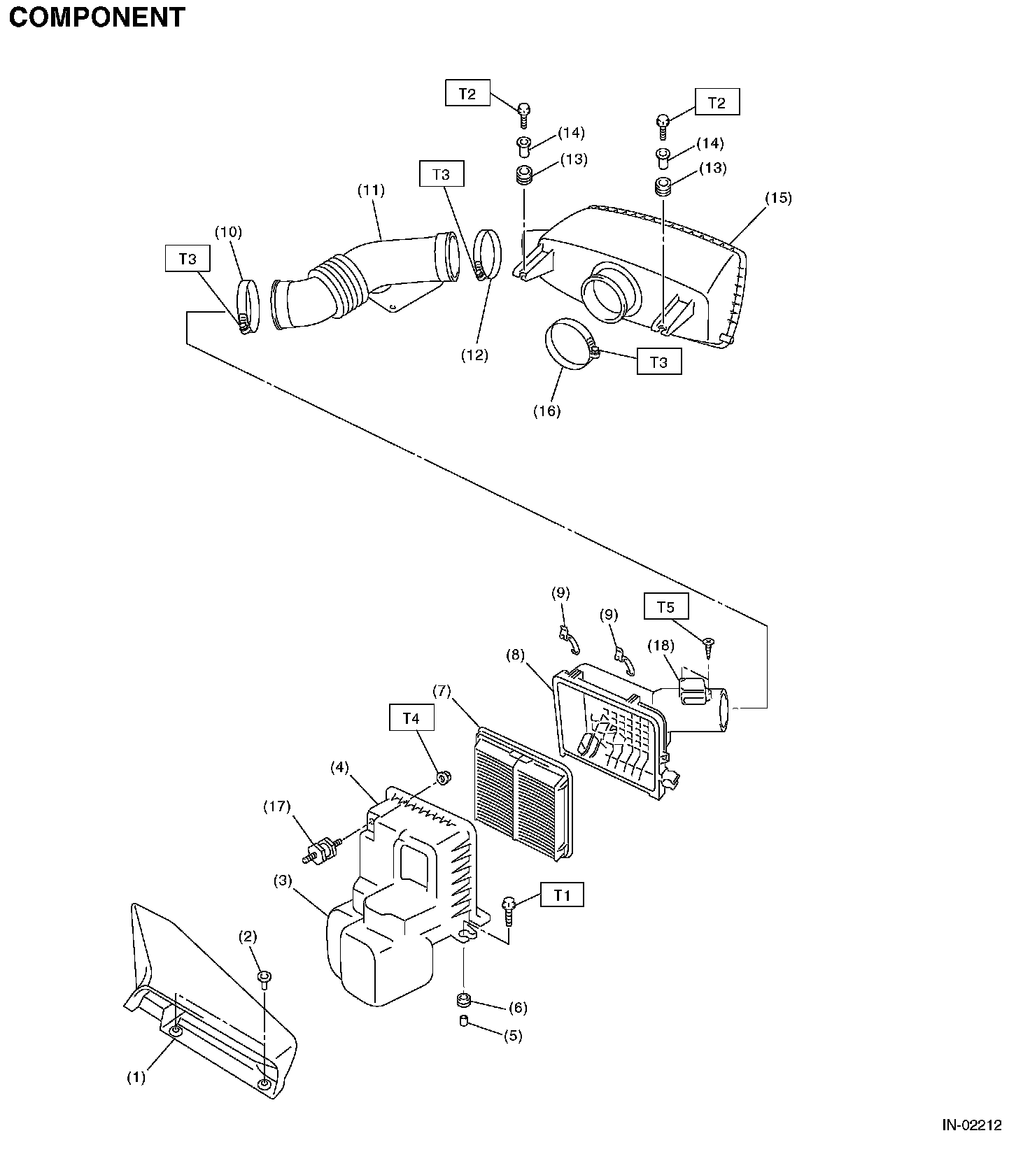
Air Flow Meter/Sensor: Locations





Sensor (Part 1):



Sensor (Part 2):