LEMON Manuals: Even more car manuals for everyone: 1960-2025
Home >> Subaru >> 2010 >> Outback F6-3.6L DOHC >> Repair and Diagnosis >> Specifications >> Mechanical Specifications >> Engine >> Cylinder Block Assembly >> System Specifications
April 5, 2026: LEMON Manuals is launched! Read the announcement.

System Specifications

Cylinder Block Inspection
Warping limit 0.020 mm (0.0008 in)
Standard height of cylinder block 202 mm (7.95 in)

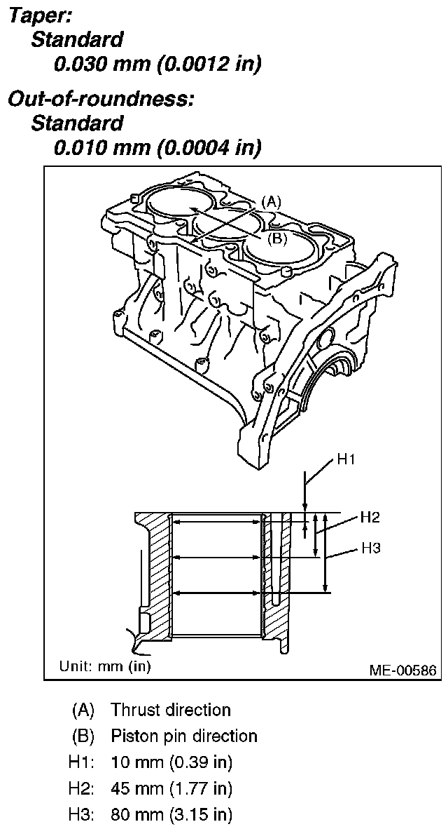
Cylinder and Piston
The cylinder bore size is stamped on the front upper face of the cylinder block
Standard sized pistons are classified into two grades, "A" and "B". These grades should be used as guide lines in selecting a standard piston.











Cylinder to piston clearance at 20 degrees C (68 degrees F) -0.010 - 0.010 mm (-0.0004 - 0.0004 in)
Cylinder inner diameter boring limit (diameter) to 92.515 mm (3.6717 in)

Crankshaft and Main Bearings














Crankshaft oil clearance (standard) 0.010-0.030 mm (0.0004-0.0012 in)

Crankshaft Main Bearing Cap Bolts
Please refer to Cylinder Block Assembly Removal and Replacement for bolt tightening specifications and sequence. Service and Repair

Connecting Rods and Bearings














Connecting Rod Cap Bolts 60 Nm (6.1 kgf-m, 44.3 ft-lb)

Piston Pin
Make sure piston pin can be inserted into piston pin hole by a thumb at 20° C (68° F)

Piston Rings














Crank Pulley Bolt 195 Nm (19.9 kgf-m, 143.8 ft-lb)