LEMON Manuals: Even more car manuals for everyone: 1960-2025
Home >> Subaru >> 2010 >> Outback F6-3.6L DOHC >> Repair and Diagnosis >> Specifications >> Mechanical Specifications >> Engine >> Timing Components >> Timing Cover
April 5, 2026: LEMON Manuals is launched! Read the announcement.

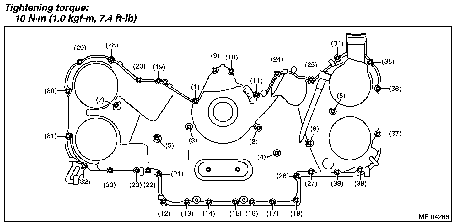
Timing Cover

Timing Chain Cover Bolts

CAUTION: Do not install the chain cover installation bolts in wrong place.