LEMON Manuals: Even more car manuals for everyone: 1960-2025
Home >> Subaru >> 2010 >> Outback R >> Repair and Diagnosis (Single Page) >> Engine Performance >> System >> Diagnostic Trouble Code (DTC) Detecting Criteria (H6DO) >> Diagnostic Trouble Code (DTC) Detecting Criteria >> DTC P0011 Intake Camshaft Position - Timing Over-Advanced Or System Performance (Bank 1) >> Component Description
April 5, 2026: LEMON Manuals is launched! Read the announcement.

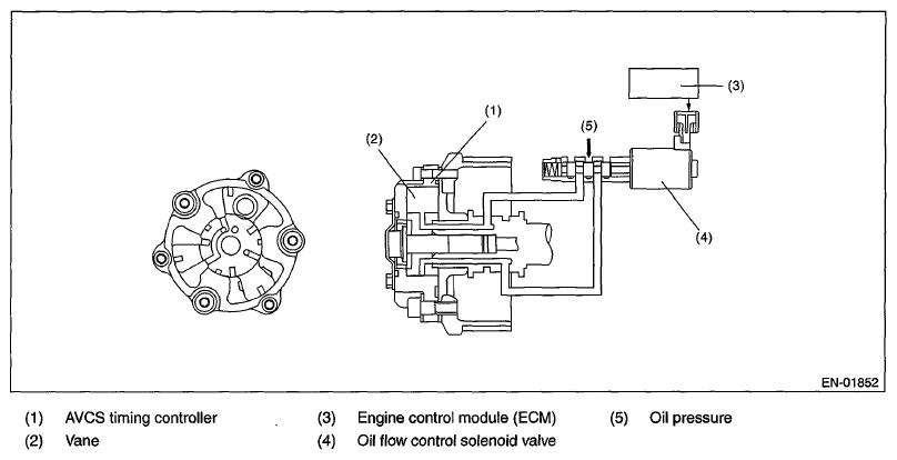
Component Description

Fig 1: Identifying AVCS Timing Controller, Engine Control Module And Oil Pressure
G06651590Courtesy of SUBARU OF AMERICA, INC.