LEMON Manuals: Even more car manuals for everyone: 1960-2025
Home >> Subaru >> 2012 >> Outback Base, Standard Trans >> Repair and Diagnosis >> Body & Frame >> Door Locks >> Security And Locks >> Key Lock Cylinders >> Replacement >> Trunk Lid
April 5, 2026: LEMON Manuals is launched! Read the announcement.

Trunk Lid

  1. Remove the trunk lid trim. Refer to TRUNK ROOM TRIM .
  2. Remove the key cylinder.
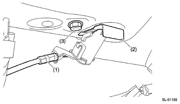
    1. Remove the cable (1), clip (2) and bolt (3).
      Fig 1: Identifying Key Cylinder Cable, Clip And Bolt
      G06653933Courtesy of SUBARU OF AMERICA, INC.
    2. Remove the key cylinder from the trunk lid, and replace the key cylinder.
      Fig 2: Removing Key Cylinder From Trunk Lid
      G06653934Courtesy of SUBARU OF AMERICA, INC.

Tightening torque: 

Key cylinder: 7.5 N.m (0.76 kgf-m, 5.5 ft-lb)