LEMON Manuals: Even more car manuals for everyone: 1960-2025
Home >> Subaru >> 2013 >> Outback Base, Standard Trans >> Repair and Diagnosis >> Engine Performance >> System >> Diagnostic Trouble Code (DTC) Detecting Criteria (H4DO) >> Diagnostic Trouble Code (DTC) Detecting Criteria >> DTC P2610 ECM/Pcm Internal Engine Off Timer Performance >> Diagnostic Method >> < Full count diagnosis >
April 5, 2026: LEMON Manuals is launched! Read the announcement.

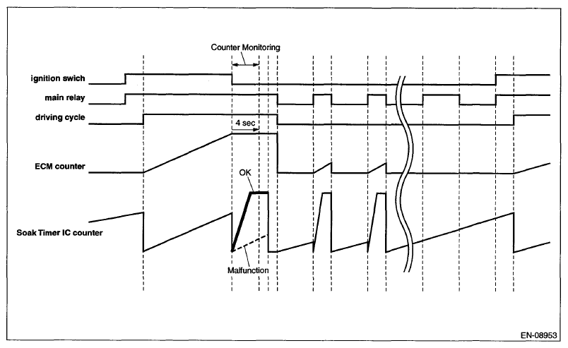
< Full count diagnosis >

Reset the counter in soaking timer IC and start the count up operation.

Judge as full count diagnosis malfunction if counter in soaking timer IC is not $3FF (1023 count) after 4 seconds.

Fig 1: Ignition Switch, Main Relay, Driving Cycle, ECM Counter And Soak Timer IC Counter Timing Pattern (Full Count Diagnosis)
G07669780Courtesy of SUBARU OF AMERICA, INC.

Judge as NG when the following conditions are established.

JUDGMENT VALUE

Malfunction Criteria Threshold Value
osoakfcntic
osoakfcntic = Counter in soaking timer IC
$3FF (1023 count)

Judge as OK when the following conditions are established.

JUDGMENT VALUE

Malfunction Criteria Threshold Value
osoakfcntic = $3FF (1023 count)