LEMON Manuals: Even more car manuals for everyone: 1960-2025
Home >> Subaru >> 2017 >> Impreza Base, 4D Sedan, Automatic CVT Trans >> Repair and Diagnosis >> Engine Performance >> Engine Control Systems >> Fuel Injection System >> Knock Sensor >> Installation
April 5, 2026: LEMON Manuals is launched! Read the announcement.

Knock Sensor: Installation

  1. Install the knock sensor to the cylinder block, and connect the connector to the knock sensor.
    NOTE:
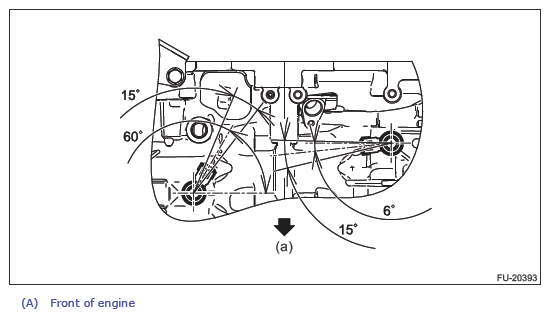
    • Knock sensor must be positioned so that the connector center comes within the range shown in the figure.
    • Make sure that the knock sensor and its connector do not touch the adjacent parts.

    Tightening torque: 

    25 N.m (2.5 kgf-m, 18.4 ft-lb)

    Fig 1: Positioning Knock Sensor
    G11252898Courtesy of SUBARU OF AMERICA, INC.
  2. Install the air intake boot. Ref. to INTAKE (INDUCTION) (H4DO)>Air Intake Boot>INSTALLATION .
  3. Connect the battery ground terminal. Ref. to REPAIR CONTENTS>NOTE>BATTERY .