LEMON Manuals: Even more car manuals for everyone: 1960-2025
Home >> Subaru >> 2017 >> Outback 2.5i >> Repair and Diagnosis >> Engine Performance >> Engine Control Systems >> Fuel Injection System (H4DO) >> Fuel Injector >> Installation
April 5, 2026: LEMON Manuals is launched! Read the announcement.

Fuel Injector: Installation

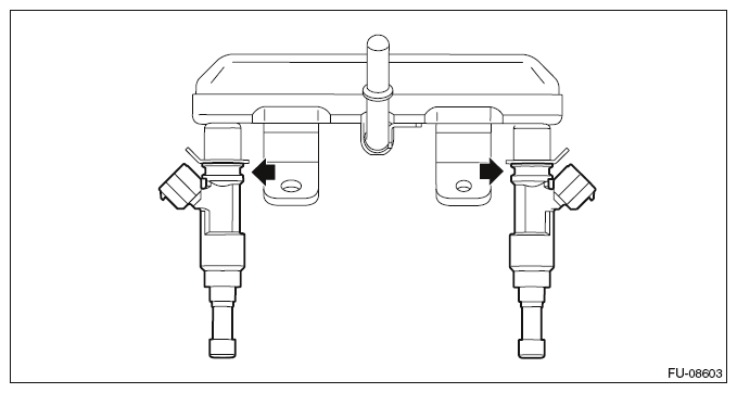
  1. Install the fuel injector to the fuel pipe.
    NOTE: Use new O-rings and rubbers.
    Fig 1: Identifying Fuel Injectors
    G10262189Courtesy of SUBARU OF AMERICA, INC.
  2. Install the fuel injector and fuel pipe as a unit, and install the bolt securing the fuel pipe to the cam carrier.
    NOTE: Use new seal rings.

    Tightening torque: 

    6.4 N.m (0.7 kgf-m, 4.7 ft-lb) 

  3. Connect the fuel delivery pipe (B) to the fuel pipe LH.
    CAUTION:
    • Check that there is no damage or dust on the quick connector. If necessary, clean the seal surface of the pipe.
    • When connecting the quick connector, make sure to insert it all the way in before locking the slider.
    • When it is difficult to lock the slider, check that the connector is fully inserted.
    • After locking the slider, check that the quick connector is securely connected.
    NOTE: Connect the quick connector as shown in the figure.
    Fig 2: Connecting Quick Connector
    G11565986Courtesy of SUBARU OF AMERICA, INC.
  4. Connect the connectors (A) to fuel injector.
    Fig 3: Identifying Fuel Injector Connectors
    G10262188Courtesy of SUBARU OF AMERICA, INC.
  5. Install the intake manifold protector RH. (RH side only)

    Tightening torque: 

    6.4 N.m (0.7 kgf-m, 4.7 ft-lb) 

    Fig 4: Identifying Intake Manifold Protector Bolts RH
    G10262120Courtesy of SUBARU OF AMERICA, INC.
  6. Install the intake manifold protector LH, and install the clip (A) securing the engine harness to the intake manifold protector LH. (LH side only)

    Tightening torque: 

    6.4 N.m (0.7 kgf-m, 4.7 ft-lb) 

    Fig 5: Identifying Intake Manifold Protector Bolts And Clip LH
    G10262123Courtesy of SUBARU OF AMERICA, INC.
  7. Install the air cleaner case (rear) together with the air cleaner element. (RH side only) Ref. to INSTALLATION , Air Cleaner Case.
  8. Secure the bulkhead wiring harness with clip (B) and connect the connector (A) to the mass air flow and intake air temperature sensor. (RH side only)
    Fig 6: Mass Air Flow Temperature Sensor Connector And Clip
    G10262137Courtesy of SUBARU OF AMERICA, INC.
  9. Install the air intake duct. (RH side only) Ref. to INSTALLATION , Air Intake Duct.
  10. Install the air intake boot. (RH side only) Ref. to INSTALLATION , Air Intake Boot.
  11. Connect the ground terminal to battery sensor. Ref. to BATTERY