LEMON Manuals: Even more car manuals for everyone: 1960-2025
Home >> Subaru >> 2018 >> Crosstrek Base, Standard Trans >> Repair and Diagnosis >> Engine Performance >> System >> Engine Control System (Diagnostics) (2 Of 4) >> Diagnostic Procedure with Diagnostic Trouble Code (DTC) >> DTC P0455: EVAP System (CPC) Leak Detected (Large Leak) >> Diagnostic Method >> Notes
April 5, 2026: LEMON Manuals is launched! Read the announcement.

Diagnostic Method: Notes

G12400075Courtesy of SUBARU OF AMERICA, INC.
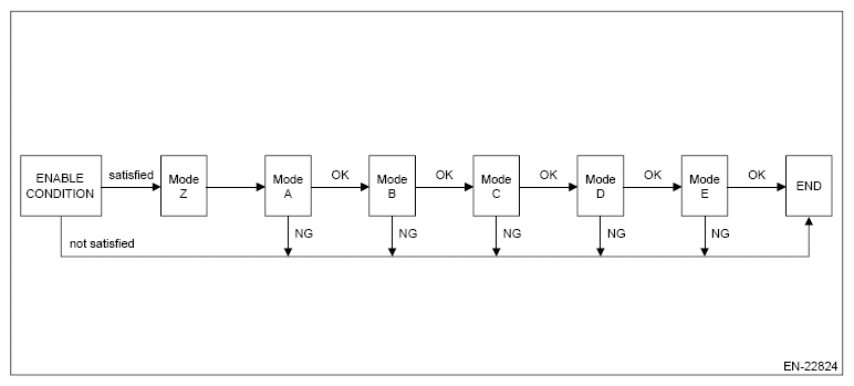
Mode Explanation of Mode Diagnosis period
Z Barometric pressure measurement 70 s or less
A Vacuum pump operation confirmation and characteristics stability 7 s or less
B Measurement of reference pressure for setting the target negative pressure 350 s or less
C Switching valve operation confirmation 12 s or less
D Clogging of pipe diagnosis and leak pressure measurement 900 s or less
E Reference pressure measurement for judgment 50 s or less
G12400076Courtesy of SUBARU OF AMERICA, INC.