LEMON Manuals: Even more car manuals for everyone: 1960-2025
Home >> Subaru >> 2018 >> WRX STI >> Repair and Diagnosis (Single Page) >> Accessories & Equipment >> Drivers Assistance Systems - ADAS >> Blind Spot Detection / Rear Cross Traffic Alert System (Diagnostics) >> Control Module I/O Signal >> System Block Diagram
April 5, 2026: LEMON Manuals is launched! Read the announcement.

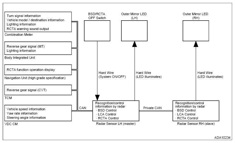
System Block Diagram

G12452054Courtesy of SUBARU OF AMERICA, INC.